授权公布号:CN212283811U
一种牛排用配料装置
有效
申请
2020-02-18
申请公布
1970-01-01
授权
2021-01-05
预估到期
2030-02-18
| 申请号 | CN202020177863.7 |
| 申请日 | 2020-02-18 |
| 授权公布号 | CN212283811U |
| 授权公告日 | 2021-01-05 |
| 分类号 | B01F11/00;B01F15/00 |
| 分类 | 一般的物理或化学的方法或装置; |
| 申请人名称 | 上海潮乡源食品有限公司 |
| 申请人地址 | 上海市浦东新区三林路158号2幢205室 |
专利法律状态
2021-11-05
专利权人的姓名或者名称、地址的变更
状态信息
专利权人的姓名或者名称、地址的变更;IPC(主分类):B01F11/00;变更事项:专利权人;变更前:上海潮乡源食品有限公司;变更后:上海潮乡源食品有限公司;变更事项:地址;变更前:201799 上海市青浦区清河湾路1150号603室;变更后:200120 上海市浦东新区三林路158号2幢205室;变更事项:专利权人;变更前:潮香村食品科技有限公司;变更后:潮香村食品科技有限公司
2021-11-05
著录事项变更
状态信息
著录事项变更;IPC(主分类):B01F11/00;变更事项:发明人;变更前:张正国;变更后:张正国 颜乙华
2021-01-05
授权
状态信息
授权
摘要
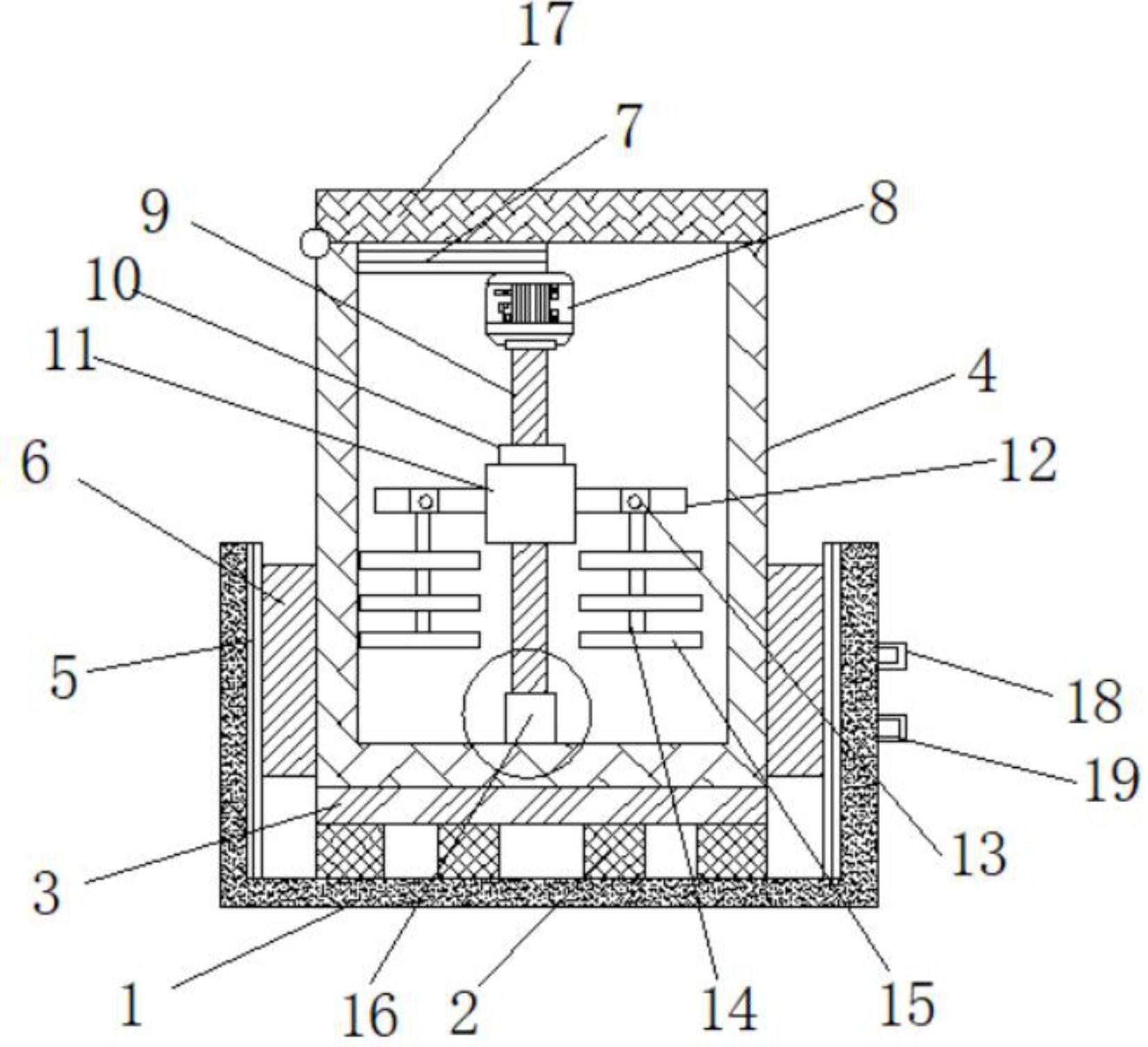
本实用新型公开了一种牛排用配料装置,包括底座,所述底座顶端安装有海绵体若干且海绵体的顶端固定连接有橡胶层,所述橡胶层的顶端固定连接有外壳,所述底座的内部左右两侧均固定连接有滑轨且滑轨表面均滑动连接有滑块,所述滑块的侧端与外壳外侧壁固定连接,所述外壳的内侧壁靠近顶端部位固定连接有支撑杆且支撑杆的外侧壁上固定安装有电机A,所述电机A的顶端安装有丝杆且丝杆外侧壁上齿扣连接有丝杆套,本实用新型结构简单、设计新颖,通过丝杆带动搅拌叶可以上下移动,让搅拌得范围更广,减少死角情况的发生,从而让搅拌更加均匀,并且还安装有减震装置,能很好的减震从而降低噪音,减少噪音对工作人员的影响。


