授权公布号:CN217906229U
一种自动计量自动喂料泡豆装置
有效
申请
2022-05-07
申请公布
1970-01-01
授权
2022-11-29
预估到期
2032-05-07
| 申请号 | CN202221074758.6 |
| 申请日 | 2022-05-07 |
| 授权公布号 | CN217906229U |
| 授权公告日 | 2022-11-29 |
| 分类号 | A23P30/00;A23L11/00;B01F27/053;B01F27/96;B01F33/81;B01F101/06N |
| 分类 | 其他类不包含的食品或食料;及其处理; |
| 申请人名称 | 山东世纪春生物科技股份有限公司 |
| 申请人地址 | 山东省临沂市沂水县青援路以北柏家坪村以西c00980号2号房 |
专利法律状态
2022-11-29
授权
状态信息
授权
摘要
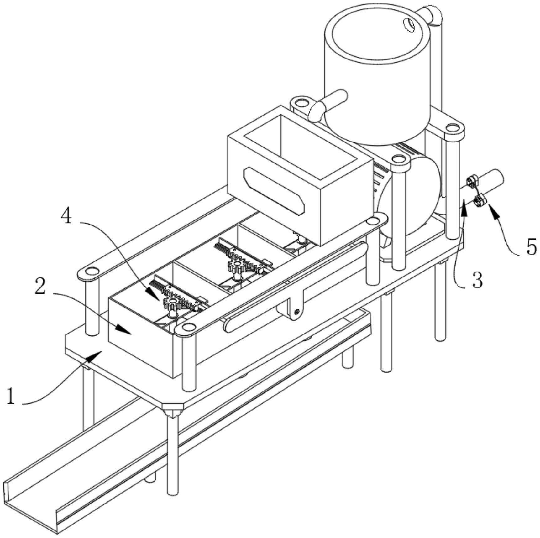
本实用新型公开了一种自动计量自动喂料泡豆装置,具体涉及泡豆领域,本实用新型包括泡豆装置本体,所述泡豆装置本体的内部固定连接有泡豆池,所述泡豆池的内部设有搅拌装置,所述搅拌装置包括限位块,所述限位块的两端与泡豆池固定连接,所述限位块的表面滑动连接有齿条,所述齿条的齿面啮合有齿轮,所述齿轮的下表面固定连接有限位杆,所述限位杆的圆弧面转动连接有两个固定板,所述固定板的两端与泡豆池固定连接,所述限位杆远离齿轮的一端固定连接有搅拌架,本实用新型达到了使操作人员可以通过搅拌架将泡豆池内的豆子进行搅拌,使之更加充分地进行泡豆,从而在一定程度上提高自动喂料泡豆装置的泡豆质量的目的。


