授权公布号:CN104773322B
白菜封装生产线
有效
申请
2015-04-01
申请公布
2015-07-15
授权
2017-02-08
预估到期
2035-04-01
| 申请号 | CN201510150024.X |
| 申请日 | 2015-04-01 |
| 申请公布号 | CN104773322A |
| 申请公布日 | 2015-07-15 |
| 授权公布号 | CN104773322B |
| 授权公告日 | 2017-02-08 |
| 分类号 | B65B25/04;B65B35/44;B65B63/00;B26D1/25 |
| 分类 | 输送;包装;贮存;搬运薄的或细丝状材料; |
| 申请人名称 | 广西禾美生态农业股份有限公司 |
| 申请人地址 | 广西壮族自治区柳州市融水县融水镇康田工业园区 |
专利法律状态
2020-11-13
专利申请权、专利权的转移
状态信息
专利权的转移;IPC(主分类):B65B25/04;登记生效日:20201103;变更事项:专利权人;变更前:重庆皓庭众拓环境科技有限公司;变更后:广西禾美生态农业股份有限公司;变更事项:地址;变更前:401120 重庆市渝北区龙溪街道金龙路259号财信城市国际4幢1-6;变更后:545300 广西壮族自治区柳州市融水县融水镇康田工业园区
2018-12-21
专利申请权、专利权的转移
状态信息
专利权的转移;IPC(主分类):B65B25/04;登记生效日:20181203;变更事项:专利权人;变更前:林燕彬;变更后:重庆皓庭众拓环境科技有限公司;变更事项:地址;变更前:350200 福建省长乐市吴航杨井巷21号;变更后:401120 重庆市渝北区龙溪街道金龙路259号财信城市国际4幢1-6
2017-02-08
授权
状态信息
授权
2016-12-14
著录事项变更
状态信息
著录事项变更;IPC(主分类):B65B25/04;变更事项:发明人;变更前:王俊鹏;变更后:林燕彬
2016-12-14
专利申请权、专利权的转移
状态信息
专利申请权的转移;IPC(主分类):B65B25/04;登记生效日:20161124;变更事项:申请人;变更前:王俊鹏;变更后:林燕彬;变更事项:地址;变更前:250109 山东省济南市历城区郭店三区20号山东省实验中学;变更后:350200 福建省长乐市吴航杨井巷21号
2015-08-12
实质审查的生效
状态信息
实质审查的生效;IPC(主分类):B65B25/04;申请日:20150401
2015-07-15
公布
状态信息
公布
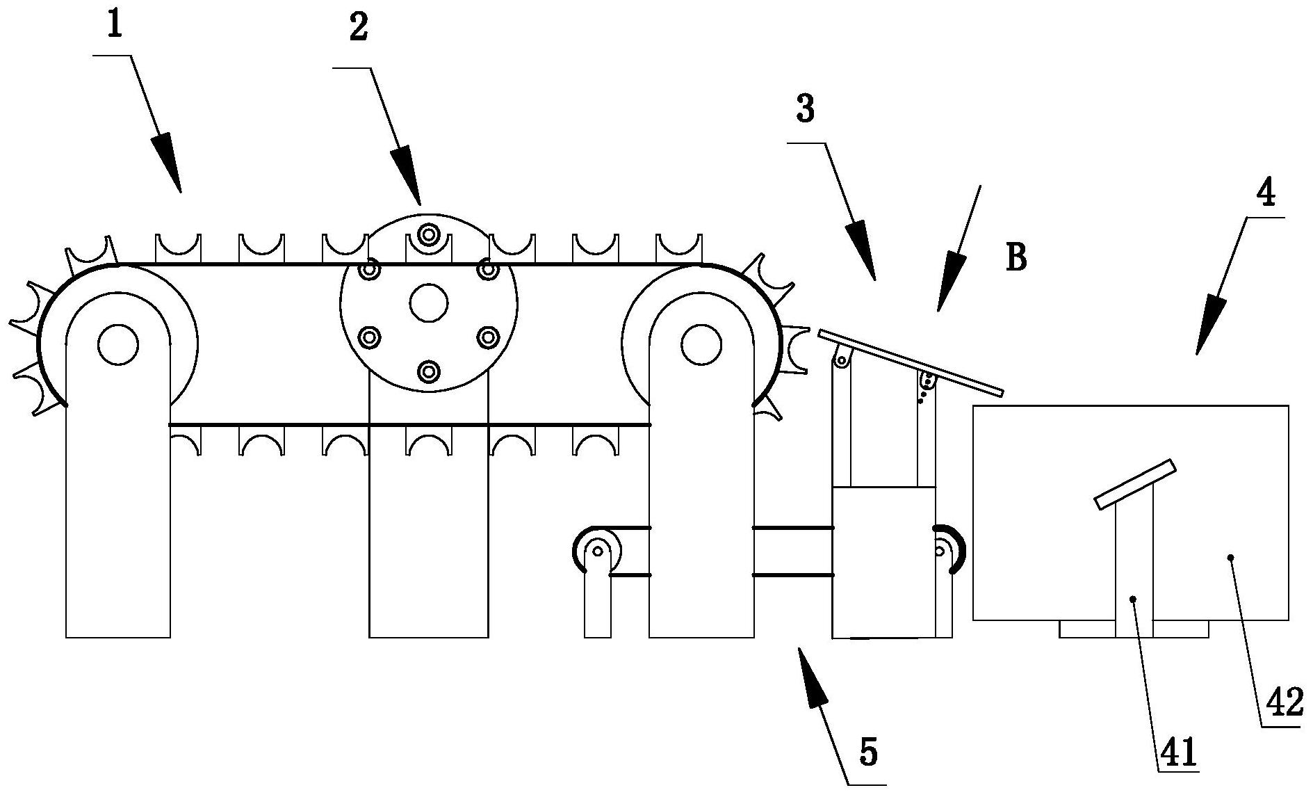
摘要
白菜封装生产线,用于解决人工徒手进行白菜的封装时,工作效率低、浪费人工的问题。它包括第一输送总成、刀具总成、分离总成、计量总成和第二输送总成,第一输送总成包括带式输送机和白菜托,所述白菜托均匀设置在带式输送机上;在第一输送总成的一侧设有刀具总成,在刀具总成的第一机架的上部转动安装有转盘,在转盘上转动安装有沿周向均匀设置的若干刀具轴,在每一刀具轴上固定安装一刀具;在第一输送总成的末端设有分离总成,分离总成包括第二机架和分离板;在分离板的低端设有计量总成,在分离板的下方设有第二输送总成;本发明可拔除白菜外部破损的白菜叶,同时实现白菜叶与白菜的分离,对处理好的白菜进行封装,工作效率高。


