授权公布号:CN112707126B
一种板栗脱壳后落料分离装置
有效
申请
2020-12-11
申请公布
2021-04-27
授权
2022-08-09
预估到期
2040-12-11
| 申请号 | CN202011461895.0 |
| 申请日 | 2020-12-11 |
| 申请公布号 | CN112707126A |
| 申请公布日 | 2021-04-27 |
| 授权公布号 | CN112707126B |
| 授权公告日 | 2022-08-09 |
| 分类号 | B65G47/19;B07B1/34;B08B3/02;A23N5/00 |
| 分类 | 输送;包装;贮存;搬运薄的或细丝状材料; |
| 申请人名称 | 安徽合益食品股份有限公司 |
| 申请人地址 | 安徽省六安市金寨县现代产业园区 |
专利法律状态
2022-08-09
授权
状态信息
授权
2021-04-27
公布
状态信息
公布
摘要
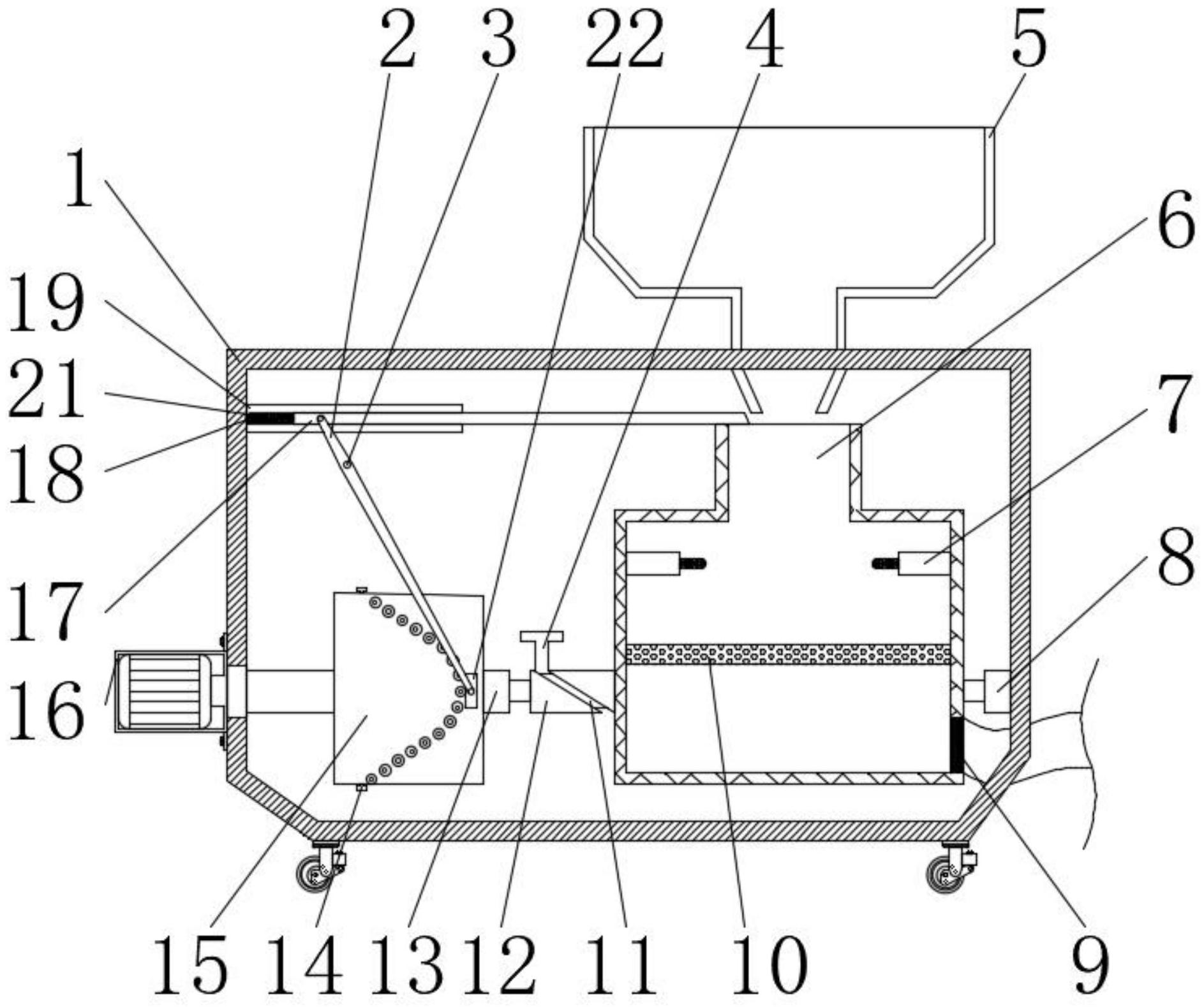
本发明提供一种板栗脱壳后落料分离装置,属于食品生产用加工设备技术领域。该一种板栗脱壳后落料分离装置,包括箱体、储料箱、震荡分离箱、伺服电机和储水箱,所述箱体的内部设置有驱动筒。随着驱动筒在做旋转运动,当竖直部分的驱动轮侧壁与驱动板的侧壁相贴合时,传动杆远离驱动筒的一端位置复原,使得物料挡板将震荡分离箱的进料口遮挡,此时震荡进料箱的内部不进料,当弯曲部分的驱动轮侧壁与驱动板的侧壁相贴合时,物料挡板不对震荡分离箱的进料口进行遮挡,使得震荡分离箱内部进料是缓慢进料的,可确保在分离过程中分离的质量,避免物料过多导致分离效果不理想,更避免了筛分板内部的筛分孔被堵塞。


