授权公布号:CN218681610U
一种月饼自动包馅机
有效
申请
2022-11-23
申请公布
1970-01-01
授权
2023-03-24
预估到期
2032-11-23
| 申请号 | CN202223105334.4 |
| 申请日 | 2022-11-23 |
| 授权公布号 | CN218681610U |
| 授权公告日 | 2023-03-24 |
| 分类号 | A21C9/06;A21C11/10 |
| 分类 | 焙烤;制作或处理面团的设备;焙烤用面团〔1,8〕; |
| 申请人名称 | 广西好友缘食品有限公司 |
| 申请人地址 | 广西壮族自治区南宁市洞岭路2号 |
专利法律状态
2023-03-24
授权
状态信息
授权
摘要
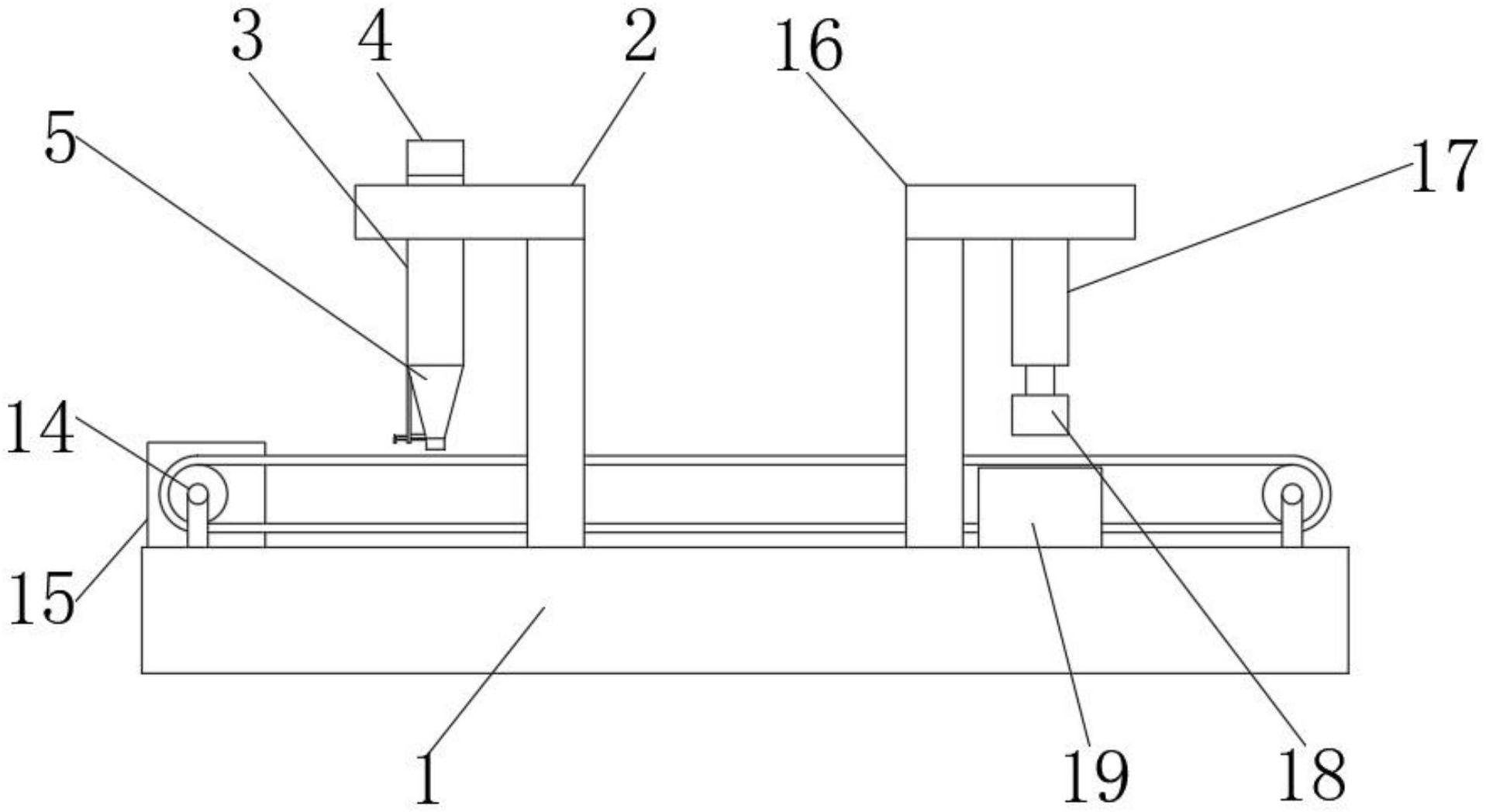
本实用新型公开了一种月饼自动包馅机,包括支撑台、第一支撑架、加料筒、转动盖和导料筒,所述支撑台上安装有第一支撑架,所述第一支撑架上安装有加料筒,所述加料筒的顶部安装有转动盖,所述转动盖与加料筒之间为螺纹连接,所述加料筒的底部安装有导料筒,所述导料筒为圆锥形,所述转动盖上安装有第一伸缩杆,所述第一伸缩杆的底部安装有推板,所述推板的外径等于加料筒的内径。该月饼自动包馅机,设置有可移动的切割片,通过切割片可以对月饼馅料进行切割,使月饼馅料从出料筒上脱落,降低了月饼馅料不下落的现象,增加了导料筒加料的稳定性,且通过切割片的切割,容易确定馅料的分离位置,增加了对馅料的重量控制,增加了导料筒的加料精确性。


