授权公布号:CN210683748U
一种用于食品安全检测的微生物培养装置
有效
申请
2019-06-26
申请公布
1970-01-01
授权
2020-06-05
预估到期
2029-06-26
| 申请号 | CN201920971955.X |
| 申请日 | 2019-06-26 |
| 授权公布号 | CN210683748U |
| 授权公告日 | 2020-06-05 |
| 分类号 | C12M1/00;C12M1/02 |
| 分类 | 生物化学;啤酒;烈性酒;果汁酒;醋;微生物学;酶学;突变或遗传工程; |
| 申请人名称 | 合肥七哥食品有限责任公司 |
| 申请人地址 | 安徽省合肥市新站区新蚌埠路与魏武路交口东北角佳海工业城一期C94栋 |
专利法律状态
2020-06-05
授权
状态信息
授权
摘要
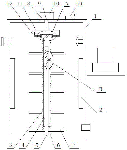
本实用新型属于微生物培养技术领域,尤其是一种用于食品安全检测的微生物培养装置,针对现有的微生物培养装置使用多台电机用于对微生物原料的充分搅拌,装置成本造价较高,且搅拌叶始终沿着同一方向进行旋转,微生物培养液与物料难以混合均匀,不利于微生物生长的缺点,而提出如下方案,其包括装置主体,装置主体的两侧内壁上均固定安装有照射灯,所述装置主体内设有搅拌杆,搅拌杆的两侧均固定安装有多个搅拌叶。本实用新型结构简单,只使用一个伸缩液压缸即可实现,降低了装置的造价成本,多个搅拌叶上下移动的同时转动,对微生物培养液多层次多方向进行搅拌,使得培养液与物料快速充分的混合,提高了混合速率。


