授权公布号:CN209931449U
一种犬用营养膏的酱料生产设备
有效
申请
2019-04-28
申请公布
1970-01-01
授权
2020-01-14
预估到期
2029-04-28
| 申请号 | CN201920596481.5 |
| 申请日 | 2019-04-28 |
| 授权公布号 | CN209931449U |
| 授权公告日 | 2020-01-14 |
| 分类号 | A23N17/00 |
| 分类 | 其他类不包含的食品或食料;及其处理; |
| 申请人名称 | 上海依蕴宠物用品有限公司 |
| 申请人地址 | 安徽省宣城市广德市经济开发区北区001号 |
专利法律状态
2021-11-26
专利申请权、专利权的转移
状态信息
专利权的转移;IPC(主分类):A23N 17/00;专利号:ZL2019205964815;登记生效日:20211116;变更事项:专利权人;变更前权利人:上海依蕴宠物用品有限公司;变更后权利人:广德优维坊宠物食品有限公司;变更事项:地址;变更前权利人:201100 上海市闵行区陈行公路2388号7幢801-B室;变更后权利人:230601 安徽省宣城市广德市经济开发区北区001号
2020-01-14
授权
状态信息
授权
摘要
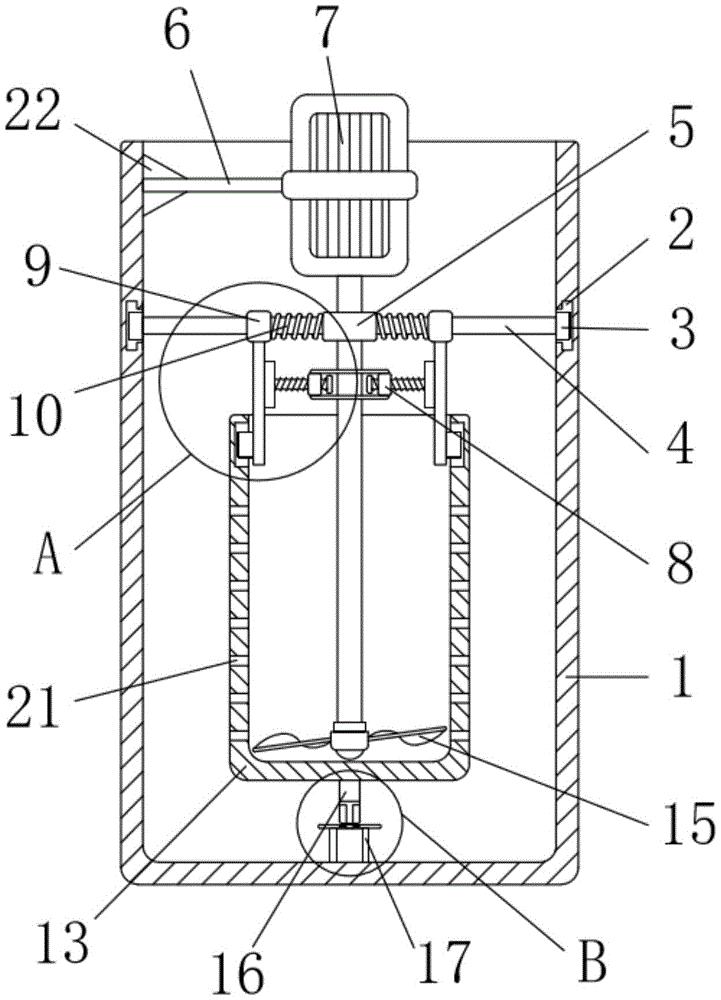
本实用新型公开了一种犬用营养膏的酱料生产设备,包括筒体,所述筒体的内壁顶端开设有环形滑槽,所述环形滑槽的内壁左右两侧均滑动卡接有滑块,所述滑块的内侧面固定装配有连接杆,两个所述连接杆之间固定装配有圆环,所述筒体的内壁左侧顶端固定装配有支杆,所述支杆的右侧端固定装配有电机。通过电机和刀片的配合,通过筒体和罐体的配合,将用于生产犬用营养膏的肉类置于罐体的内部,其他的酱料置于筒体的内部,电机的转轴带动刀片进行转动,刀片在快速转动的情况下对肉类进行切割,罐体内部的肉类透过通孔与置于筒体内部的酱料进行混合,使用于生产酱料原料均匀的混合,便于酱料的加工,实用性能强。


