授权公布号:CN212887457U
一种豆腐沥水切割装置
有效
申请
2020-06-04
申请公布
1970-01-01
授权
2021-04-06
预估到期
2030-06-04
| 申请号 | CN202021009050.3 |
| 申请日 | 2020-06-04 |
| 授权公布号 | CN212887457U |
| 授权公告日 | 2021-04-06 |
| 分类号 | B25G1/00;B08B1/02;B25H1/12;B25H1/00;B26B3/00;F26B25/18 |
| 分类 | 手动工具;轻便机动工具;手动器械的手柄;车间设备;机械手; |
| 申请人名称 | 郑州新农源绿色食品有限公司 |
| 申请人地址 | 河南省郑州市荥阳市京城办工业路 |
专利法律状态
2021-04-06
授权
状态信息
授权
摘要
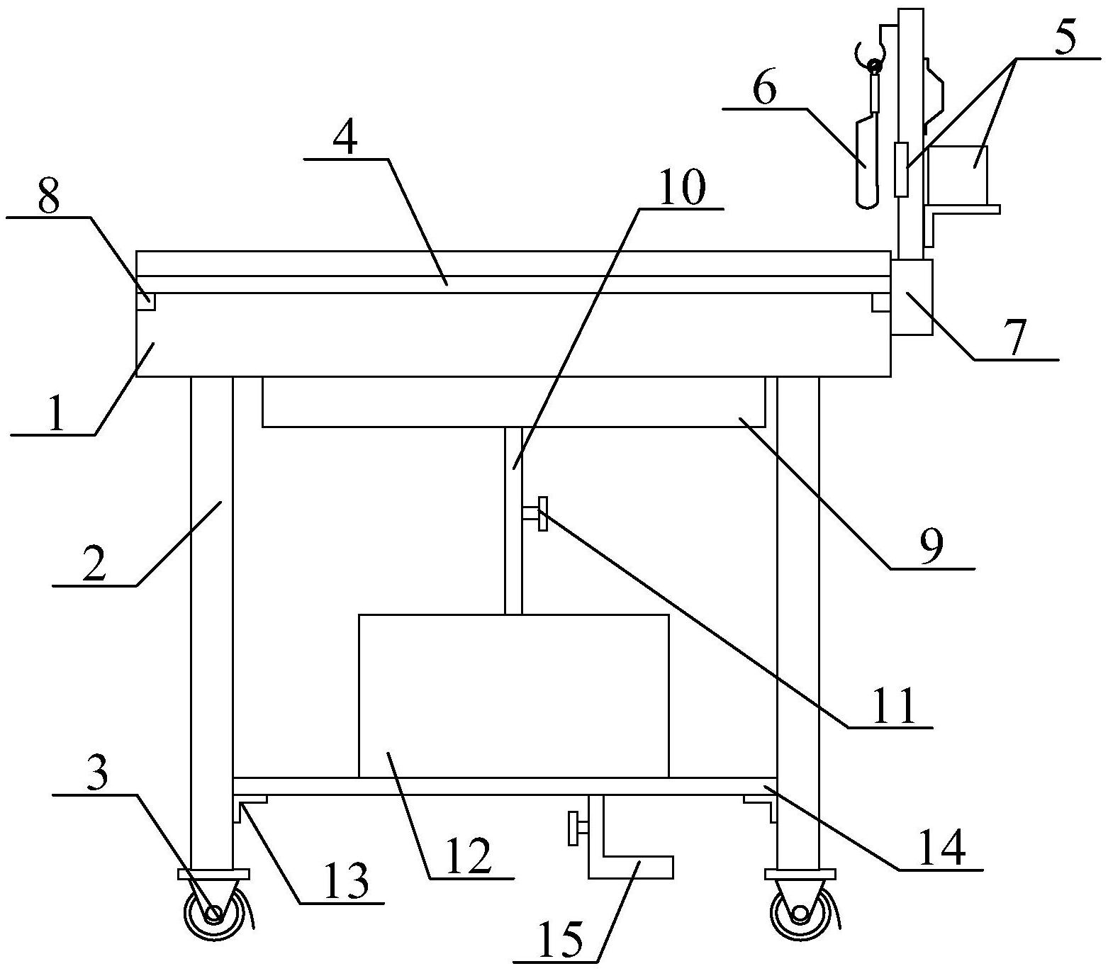
本实用新型提供一种豆腐沥水切割装置,包括支撑托盒,支撑杆,移动轮,豆腐沥水放置托板组件,切割刀刮擦架组件,方便固定防滑切割刀组件,支撑托管,支撑垫块,缓冲盒,导流管,控制阀门,废液存储箱,支撑角板,横衬托板和排液龙头。本实用新型将加工完成的豆腐块放置在支撑托板上,豆腐块渗出的水液经过沥水孔流入到支撑托盒内进行沥水操作;在沥水完毕后握住手提握柄将豆腐块整体取出即可;握住手握柄和防滑套用切割刀刃板对豆腐块进行切割;在废屑刮板上刮擦使得切割刀刃板上附着的豆腐渣落入到收集盒内,维护良好的加工环境;切割刀刃板与磁力片相吸附设置,有利于起到固定的作用,避免在移动过程中切割刀刃板的晃动。


