授权公布号:CN209865811U
一种药物原料混合装置
有效
申请
2019-04-25
申请公布
1970-01-01
授权
2019-12-31
预估到期
2029-04-25
| 申请号 | CN201920570433.9 |
| 申请日 | 2019-04-25 |
| 授权公布号 | CN209865811U |
| 授权公告日 | 2019-12-31 |
| 分类号 | B01F7/04;B01F15/02;B01F15/04 |
| 分类 | 一般的物理或化学的方法或装置; |
| 申请人名称 | 安徽祥瑞药业有限责任公司 |
| 申请人地址 | 安徽省阜阳市太和县开发区仁济堂东路 |
专利法律状态
2019-12-31
授权
状态信息
授权
摘要
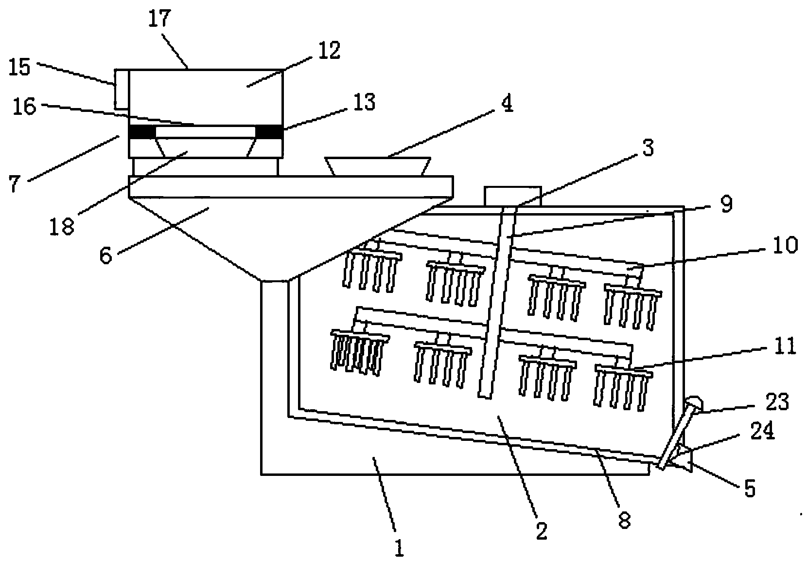
本实用新型公开了一种药物原料混合装置,包括座架、固定安装在座架上的搅拌桶以及安装在搅拌桶上的搅拌机构,搅拌桶的顶部、底部分别设置有进料口一、出料口一,座架上安装有滑行架,所述滑行架上滑动安装有能够定量称取药物原料的称量机构,搅拌桶的底部倾斜布置的底板,出料口一位于底板的下端,所述搅拌机构包括电机、与电机连接贯穿搅拌桶的传动杆、若干个设置在传动杆上的搅拌杆和若干个设置在搅拌杆上的小搅拌组。本实用新型能够精确地对药物原料进行称量,无需使用其他容器,简化操作步骤,提高药物的生产效率,节省资源,降低生产成本。


