授权公布号:CN213480876U
一种功能饮料表面除水装置
有效
申请
2020-09-27
申请公布
1970-01-01
授权
2021-06-18
预估到期
2030-09-27
| 申请号 | CN202022156207.1 |
| 申请日 | 2020-09-27 |
| 授权公布号 | CN213480876U |
| 授权公告日 | 2021-06-18 |
| 分类号 | F26B15/04;F26B21/00;F26B25/02;F26B25/00 |
| 分类 | 干燥; |
| 申请人名称 | 河南益和源饮品有限公司 |
| 申请人地址 | 河南省驻马店市济源市梨林特色产业园 |
专利法律状态
2021-06-18
授权
状态信息
授权
摘要
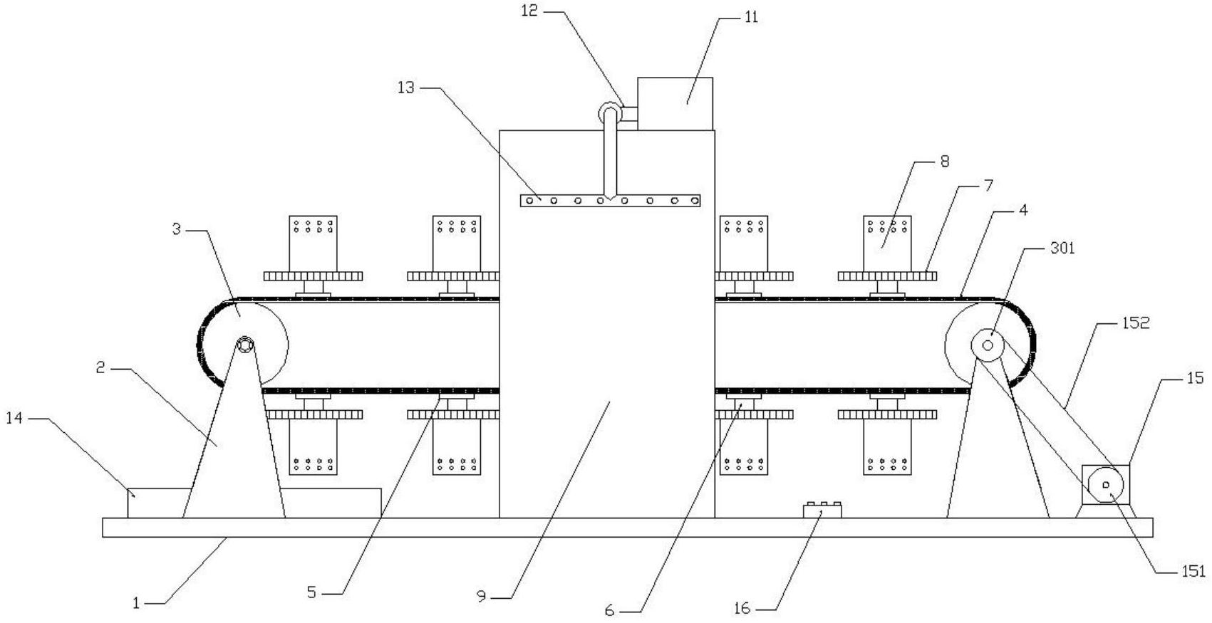
本实用新型公布了一种功能饮料表面除水装置,包括基座,基座的顶部左右两侧连接有固定架,固定架的上端安装有传动辊,两组传动辊的外壁之间套设有输送带,输送带的外表面连接有若干组轴承座,轴承座内转动连接有固定轴,固定轴的上端连接有传动齿轮,传动齿轮的顶部中心处连接有放置座,基座的顶部中段连接有U型座,输送带贯穿U型座开口,本实用新型结构设计合理,能够对瓶身进行全面风干,有效除去瓶身的残余水珠,便于后序加工的进行,放置座运转至左侧传动辊下方时,承接槽内水滴落入接水槽,便于收集处理。


