授权公布号:CN204325328U
橡木桶调硫搅拌装置
有效
申请
2014-12-11
申请公布
1970-01-01
授权
2015-05-13
预估到期
2024-12-11
| 申请号 | CN201420774600.9 |
| 申请日 | 2014-12-11 |
| 授权公布号 | CN204325328U |
| 授权公告日 | 2015-05-13 |
| 分类号 | C12H1/16 |
| 分类 | 生物化学;啤酒;烈性酒;果汁酒;醋;微生物学;酶学;突变或遗传工程; |
| 申请人名称 | 山西戎子酒庄有限公司 |
| 申请人地址 | 山西省临汾市乡宁县昌宁镇东廒村 |
专利法律状态
2015-05-13
授权
状态信息
授权
摘要
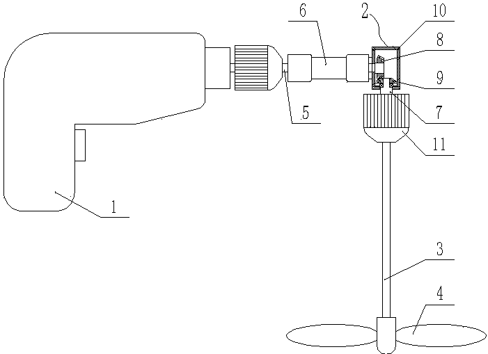
本实用新型涉及一种搅拌装置,具体涉及一种橡木桶调硫搅拌装置,所要解决的技术问题是提供了一种结构简单、使用方便,搅拌效果好、均匀、方便的橡木桶调硫搅拌装置,所采用的技术方案为:橡木桶调硫搅拌装置,包括:手电钻,所述手电钻的夹头上安装有转角装置,所述转角装置的输出端固定有搅拌杆,所述搅拌杆的端部安装有搅拌叶片,本实用新型广泛用于葡萄酒的搅拌。


