授权公布号:CN211564313U
一种箱体成型机
有效
申请
2019-12-31
申请公布
1970-01-01
授权
2020-09-25
预估到期
2029-12-31
| 申请号 | CN201922471456.7 |
| 申请日 | 2019-12-31 |
| 授权公布号 | CN211564313U |
| 授权公告日 | 2020-09-25 |
| 分类号 | B21D51/18;B21D45/02 |
| 分类 | 基本上无切削的金属机械加工;金属冲压; |
| 申请人名称 | 广西石埠乳业有限责任公司 |
| 申请人地址 | 广西壮族自治区南宁市良庆区建业二里3号 |
专利法律状态
2023-07-21
专利权质押合同登记的生效、变更及注销
状态信息
专利权质押合同登记的生效;IPC(主分类):B21D 51/18;专利号:ZL2019224714567;登记号:Y2023450000093;登记生效日:20230703;出质人:广西石埠乳业有限责任公司;质权人:广西中小企业融资担保有限公司;实用新型名称:一种箱体成型机;申请日:20191231;授权公告日:20200925
2020-09-25
授权
状态信息
授权
摘要
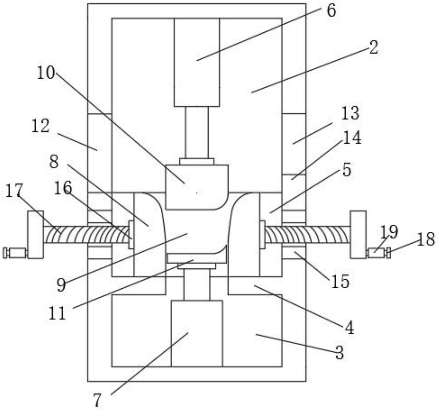
本实用新型涉及箱体成型技术领域,具体为一种箱体成型机。本实用新型包括成型装置外壳,成型装置外壳的内部设有上压腔和下压腔,下压腔水位底部设有轨道板,轨道板的上方设有滑动腔,上压腔的内部固定连接有上压液压杆,下压腔的内部固定连接有下压液压杆,滑动腔的内部设有外模板,四个外模板之间为压箱腔,上压液压杆的一端螺钉连接有上压模,下压液压杆的一端螺钉连接有下顶模,外模板的一端设有螺纹柱,设计了压箱腔,配合外模板、上压模和下压模,将放入的板块直接压成型,避免了箱体成型后,会有局部地区变形,设置了调整压箱腔大小的结构,根据不同型号的箱体大小进行调整。


