授权公布号:CN211211344U
一种椰汁生产系统
有效
申请
2019-10-30
申请公布
1970-01-01
授权
2020-08-11
预估到期
2029-10-30
| 申请号 | CN201921845469.X |
| 申请日 | 2019-10-30 |
| 授权公布号 | CN211211344U |
| 授权公告日 | 2020-08-11 |
| 分类号 | A23N1/02;A23N12/06 |
| 分类 | 其他类不包含的食品或食料;及其处理; |
| 申请人名称 | 广西石埠乳业有限责任公司 |
| 申请人地址 | 广西壮族自治区南宁市良庆区建业二里3号 |
专利法律状态
2023-07-21
专利权质押合同登记的生效、变更及注销
状态信息
专利权质押合同登记的生效;IPC(主分类):A23N1/02;专利号:ZL201921845469X;登记号:Y2023450000093;登记生效日:20230703;出质人:广西石埠乳业有限责任公司;质权人:广西中小企业融资担保有限公司;实用新型名称:一种椰汁生产系统;申请日:20191030;授权公告日:20200811
2020-08-11
授权
状态信息
授权
摘要
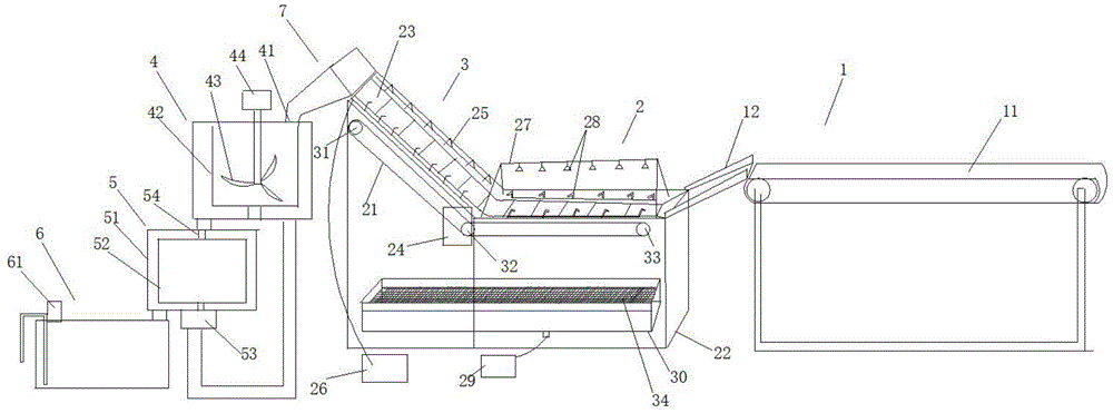
本实用新型公开了一种椰汁生产系统,包括送料装置、清洗装置、沥干装置、榨汁罐、分离装置和椰汁储存罐,所述送料装置靠接在清洗装置的一端将椰肉传送至清洗装置中,所述沥干装置与清洗装置呈钝角连接在清洗装置的另一端,所述沥干装置上连接有向另一侧倾斜的滑槽,所述榨汁罐设置在滑槽的出口的下方使椰肉从滑槽滑出后直接落入榨汁罐,所述榨汁罐的底部设有椰汁出口,该椰汁出口与椰汁储存罐连通。本实用新型的系统能够全程机械化地清洗、转运并榨取椰汁,节省大量的人力物力。


