授权公布号:CN218685360U
一种饮品包装盒的消毒装置
有效
申请
2022-09-07
申请公布
1970-01-01
授权
2023-03-24
预估到期
2032-09-07
| 申请号 | CN202222370127.5 |
| 申请日 | 2022-09-07 |
| 授权公布号 | CN218685360U |
| 授权公告日 | 2023-03-24 |
| 分类号 | A61L2/10;A61L2/26;A61L2/24;A61L2/04 |
| 分类 | 医学或兽医学;卫生学; |
| 申请人名称 | 广西石埠乳业有限责任公司 |
| 申请人地址 | 广西壮族自治区南宁市良庆区建业二里3号 |
专利法律状态
2023-03-24
授权
状态信息
授权
摘要
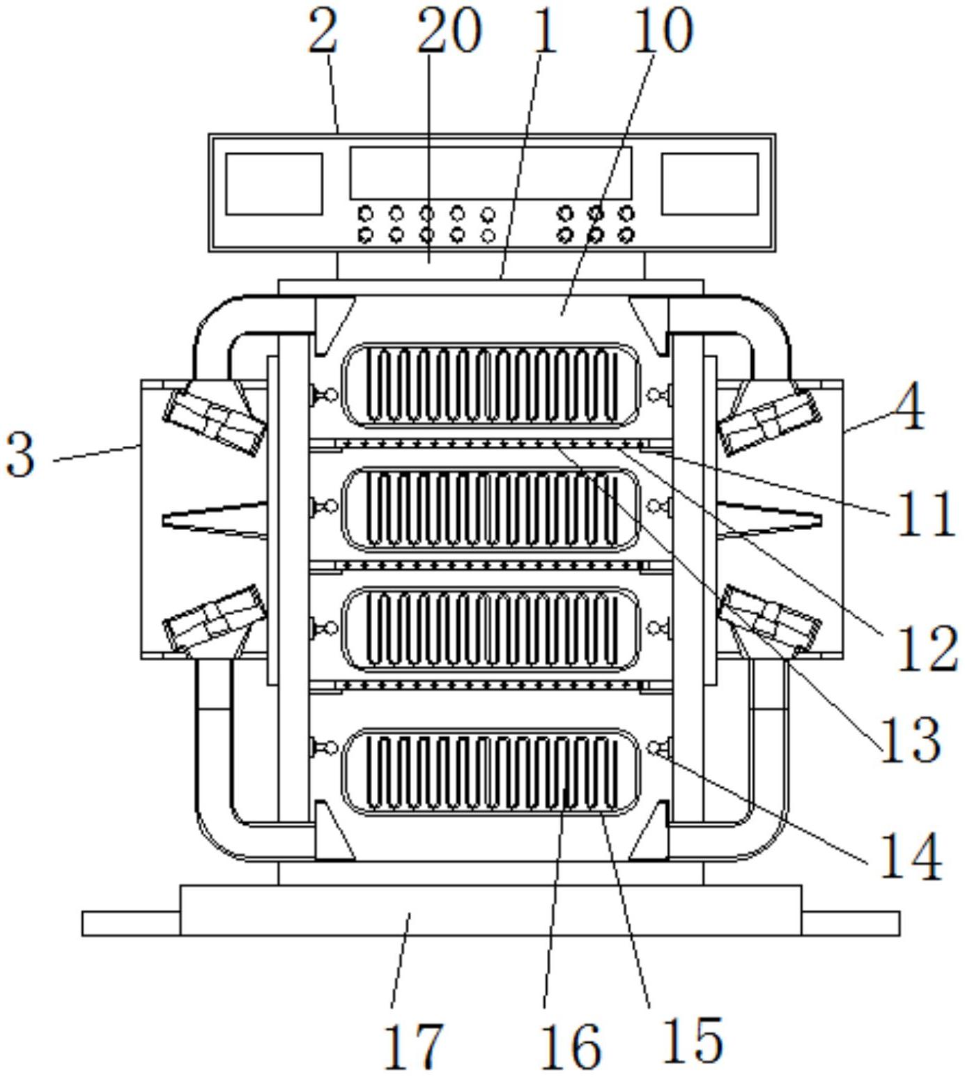
本实用新型提供了一种饮品包装盒的消毒装置,包括消毒柜、操控面板、左通风除湿结构和右通风除湿结构;所述消毒柜的顶端设置有操控面板,且操控面板的下端设置有支撑架,所述消毒柜的左侧面安装有左通风除湿结构,且消毒柜的右侧面安装有右通风除湿结构,并且左通风除湿结构和右通风除湿结构关于消毒柜的中心线呈左右对称,同时左通风除湿结构和右通风除湿结构的结构设置一致;所述消毒柜内开设有消毒室。本实用新型对饮品包装盒先进行紫外线大面积消毒,再进行高温大范围杀菌,消毒更彻底,同时可在消毒后对消毒腔进行通风除湿处理,以保持消毒腔内的干燥,以免长期受潮而腐蚀,使其使用更长久。


