授权公布号:CN205576094U
一种带有原酒分流结构的过滤压榨机
有效
申请
2016-04-08
申请公布
1970-01-01
授权
2016-09-14
预估到期
2026-04-08
| 申请号 | CN201620296109.9 |
| 申请日 | 2016-04-08 |
| 授权公布号 | CN205576094U |
| 授权公告日 | 2016-09-14 |
| 分类号 | C12H1/07 |
| 分类 | 生物化学;啤酒;烈性酒;果汁酒;醋;微生物学;酶学;突变或遗传工程; |
| 申请人名称 | 宁波阿拉酿酒有限公司 |
| 申请人地址 | 浙江省宁波市新碶横浦 |
专利法律状态
2019-05-17
专利权的保全及其解除
状态信息
专利权的保全IPC(主分类):C12H 1/07授权公告日:20160914登记生效日:20190417
2016-09-14
授权
状态信息
授权
摘要
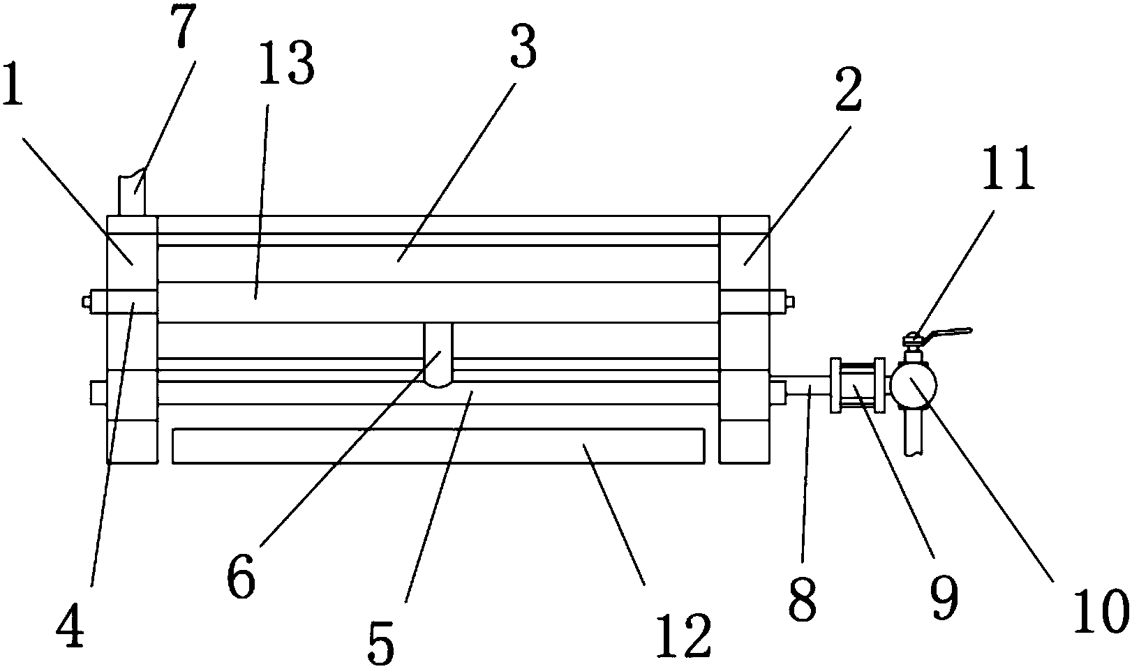
本实用新型涉及一种带有原酒分流结构的过滤压榨机,包括原酒进入支脚、过滤盘组件和酒液输出支脚,过滤盘组件两端分别竖直安装有原酒进入支脚和酒液输出支脚,原酒进入支脚上端布置有与原酒进入支脚内部连通的原酒输入管道,酒液输出支脚与安装过滤盘组件位置相对的侧面下部上安装有酒液输出管,酒液输出支脚的内部通过酒液输出管与分流管相连,酒液输出管与分流管之间安装有观察管路,分流管上安装有切换阀。本实用新型具有结构简单、安装方便、生产成本低、大大方便了原酒的过滤和压榨、同时提高酒的产量、降低了工人的劳动力成本、减少了原本设备所占用的空间等特点。


