授权公布号:CN215328043U
一种新型螺旋式和框式组合搅拌发酵罐
有效
申请
2021-05-14
申请公布
1970-01-01
授权
2021-12-28
预估到期
2031-05-14
| 申请号 | CN202121031746.0 |
| 申请日 | 2021-05-14 |
| 授权公布号 | CN215328043U |
| 授权公告日 | 2021-12-28 |
| 分类号 | C12M1/02;C12M1/04 |
| 分类 | 生物化学;啤酒;烈性酒;果汁酒;醋;微生物学;酶学;突变或遗传工程; |
| 申请人名称 | 无锡市振太酒业有限公司 |
| 申请人地址 | 江苏省无锡市滨湖区马山梅梁路2号 |
专利法律状态
2021-12-28
授权
状态信息
授权
摘要
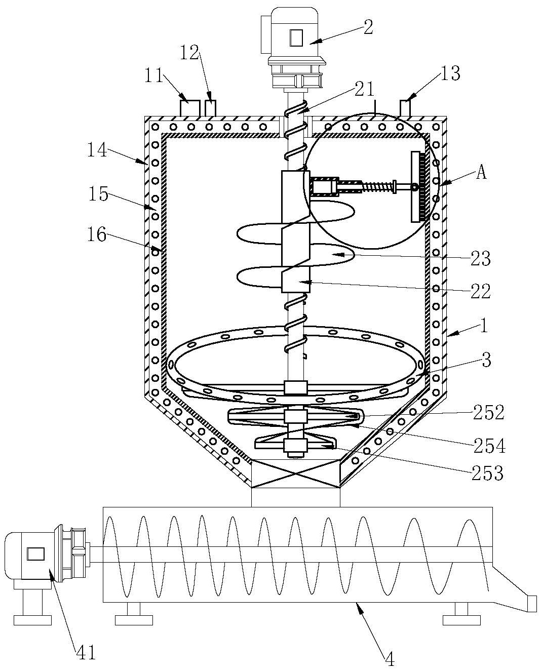
本实用新型提供了一种新型螺旋式和框式组合搅拌发酵罐,其混合配料强度更强、气液相间传质增快,可以将配料混合均匀,同时其内壁不易生产沉淀,提高了发酵效率。其包括罐体,罐体的顶部设有搅拌驱动电机,搅拌驱动电机的驱动轴贯穿罐体的顶部并转动连接,驱动轴上部分为螺杆、下部分为轴,螺杆外部螺纹连接有连接套,连接套上固定连接有清洁机构和螺旋叶片单元,转轴的外端套装有固定连接的底部搅拌机构,底部搅拌机构包括自上而下逐渐变短的第一横杆、第二横杆和第三横杆,交错的两组螺旋叶片分别连接第一横杆、第二横杆及第三横杆的两端,靠近罐体底部的壁身上还安装有环形空气分布器,沿空气分布器的表面设有均匀分布的喷气孔。


