授权公布号:CN217509815U
一种山野茶加工用揉捻装置
有效
申请
2022-06-07
申请公布
1970-01-01
授权
2022-09-30
预估到期
2032-06-07
| 申请号 | CN202221401758.2 |
| 申请日 | 2022-06-07 |
| 授权公布号 | CN217509815U |
| 授权公告日 | 2022-09-30 |
| 分类号 | A23F3/12 |
| 分类 | 其他类不包含的食品或食料;及其处理; |
| 申请人名称 | 桐柏山野茶开发有限公司 |
| 申请人地址 | 河南省南阳市桐柏县程湾乡石头庄 |
专利法律状态
2022-09-30
授权
状态信息
授权
2022-06-07
公布
状态信息
公布
摘要
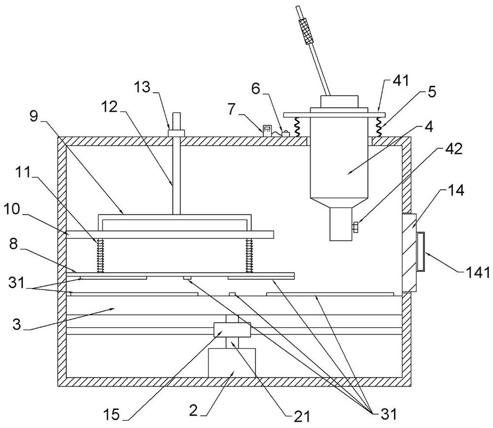
本实用新型涉及一种山野茶加工用揉捻装置,包括揉捻箱,揉捻箱的底壁固定设有电机,揉捻盘上固定设有多个凸棱,揉捻箱的顶部开设有缺口,计量斗的排料口处固定设有与PLC控制装置电性连接的电磁阀;逐渐向计量斗内加入带揉捻的茶叶,随着计量斗内的茶叶量增加,计量斗开始下移,当压环触压压力感应器时,电磁阀立即被打开,工作人员停止进料,使得计量斗内的茶叶定量排至揉捻盘上,从而避免茶叶单次揉捻量过多而导致堆积,接着启动电机,通过电机带动揉捻盘转动,通过挤压板底部的凸棱和揉捻盘上的凸棱以对茶叶进行挤压、揉搓,使得茶叶快速卷曲成条,揉捻效果较佳。


