授权公布号:CN212994185U
一种茶叶生产用揉捻机的下料机构
有效
申请
2020-07-09
申请公布
1970-01-01
授权
2021-04-20
预估到期
2030-07-09
| 申请号 | CN202021336617.8 |
| 申请日 | 2020-07-09 |
| 授权公布号 | CN212994185U |
| 授权公告日 | 2021-04-20 |
| 分类号 | A23F3/12;B07B1/46;A23F3/06;B65G47/74;B07B1/04 |
| 分类 | 其他类不包含的食品或食料;及其处理; |
| 申请人名称 | 桐柏山野茶开发有限公司 |
| 申请人地址 | 河南省南阳市桐柏县程湾乡石头庄 |
专利法律状态
2021-04-20
授权
状态信息
授权
摘要
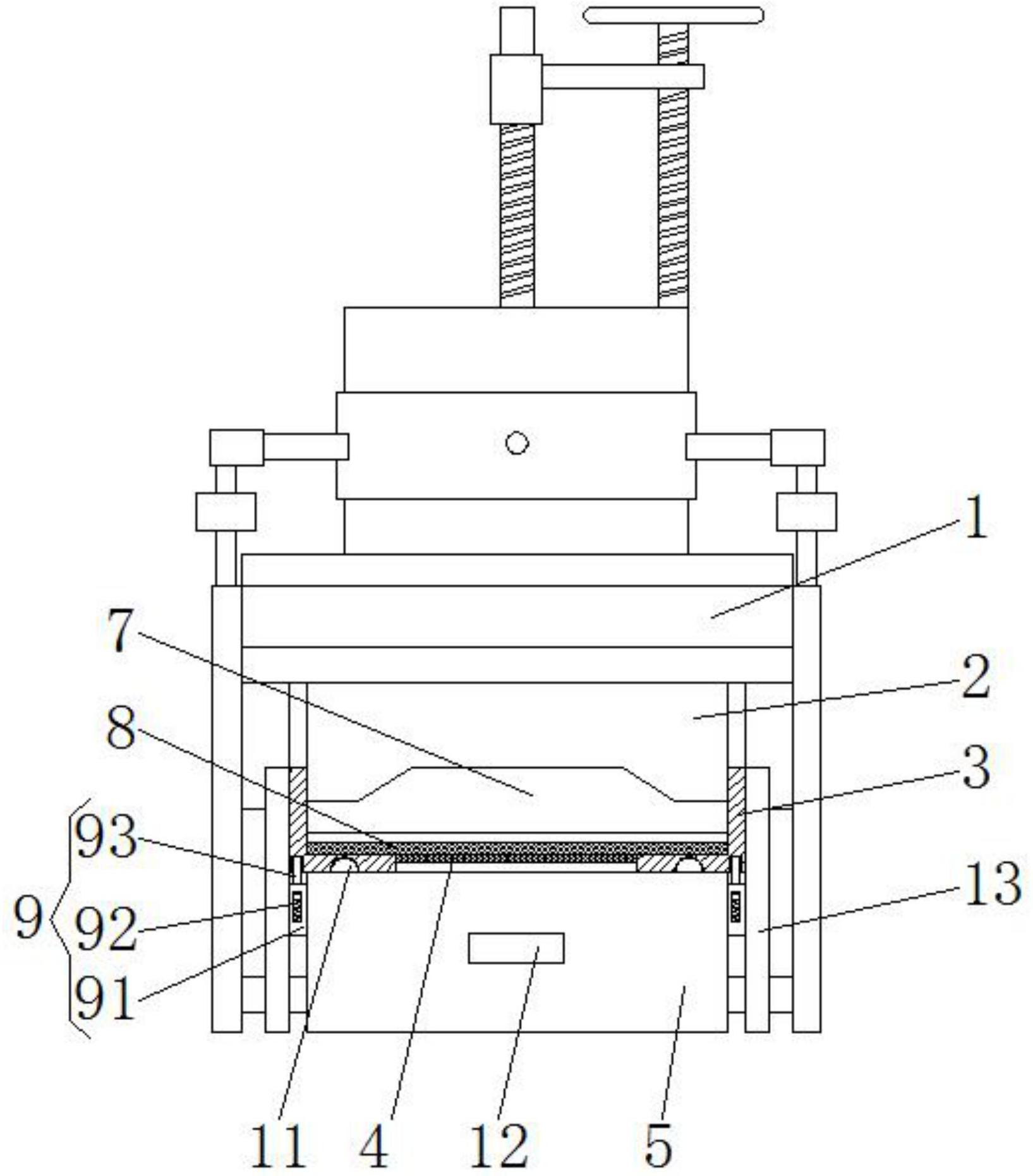
本实用新型公开了一种茶叶生产用揉捻机的下料机构,包括揉捻机本体,所述揉捻机本体的输出端安装有出料板,所述出料板的正面固定连接有支板,所述支板内壁的底部开设有通孔,通孔的内部横向固定连接有筛网,所述支板底部的前侧设置有桶体,所述支板的底部设置有盒体,所述盒体位于筛网的底部,所述支板的内壁滑动连接有竖板,所述竖板的底部固定连接有毛刷,所述毛刷的底部与支板的内壁接触。本实用新型解决了现有的揉捻机在下料的过程中,无法对加工后的茶叶进行筛选,容易导致碎茶叶与合格的茶叶混合,影响茶叶重量的问题,该茶叶生产用揉捻机的下料机构,具备筛选的优点,提高了揉捻机的实用性。


