授权公布号:CN220344382U
一种内窥镜及其操作部
有效
申请
2023-06-28
申请公布
1970-01-01
授权
2024-01-16
预估到期
2033-06-28
| 申请号 | CN202321675428.7 |
| 申请日 | 2023-06-28 |
| 授权公布号 | CN220344382U |
| 授权公告日 | 2024-01-16 |
| 分类号 | A61B1/005;A61B1/015;A61B8/12 |
| 分类 | 医学或兽医学;卫生学; |
| 申请人名称 | 深圳开立生物医疗科技股份有限公司 |
| 申请人地址 | 广东省深圳市南山区粤海街道麻岭社区高新中区科技中2路1号深圳软件园(2期)12栋201、202 |
专利法律状态
2024-01-16
授权
状态信息
授权
摘要
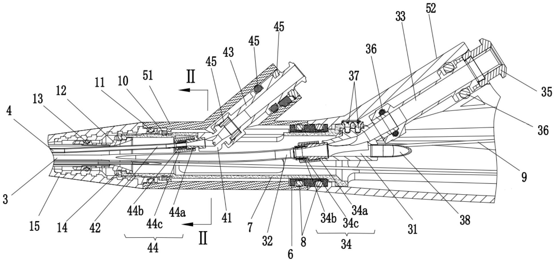
本申请涉及医疗器械技术领域,具体公开了一种内窥镜及其操作部,该操作部包括外壳、连接管、第一通道管和第二通道管。外壳内形成有主轴通道、第一分支通道和第二分支通道;连接管穿设于主轴通道内且与外壳固定连接,连接管上分别设有朝向第一分支通道开口的第一安装槽和朝向第二分支通道开口的第二安装槽,第一通道管和第二通道管分别穿设在连接管内并与连接管固定连接,第一通道管的部分管道自第一安装槽伸出,并穿设于第一分支通道,第二通道管的部分管道自第二安装槽伸出,并穿设于第二分支通道。应用本申请提供的内窥镜及其操作部,第一通道管和第二通道管均固定于同一连接管即可,简化了连接结构,便于装配。


