授权公布号:CN216935054U
一种茶油加工用多重过滤装置
有效
申请
2021-12-16
申请公布
1970-01-01
授权
2022-07-12
预估到期
2031-12-16
| 申请号 | CN202123163641.3 |
| 申请日 | 2021-12-16 |
| 授权公布号 | CN216935054U |
| 授权公告日 | 2022-07-12 |
| 分类号 | B01D36/02;C11B3/00 |
| 分类 | 一般的物理或化学的方法或装置; |
| 申请人名称 | 安徽山里郎生态农业股份有限公司 |
| 申请人地址 | 安徽省安庆市太湖县经济开发区 |
专利法律状态
2022-07-12
授权
状态信息
授权
摘要
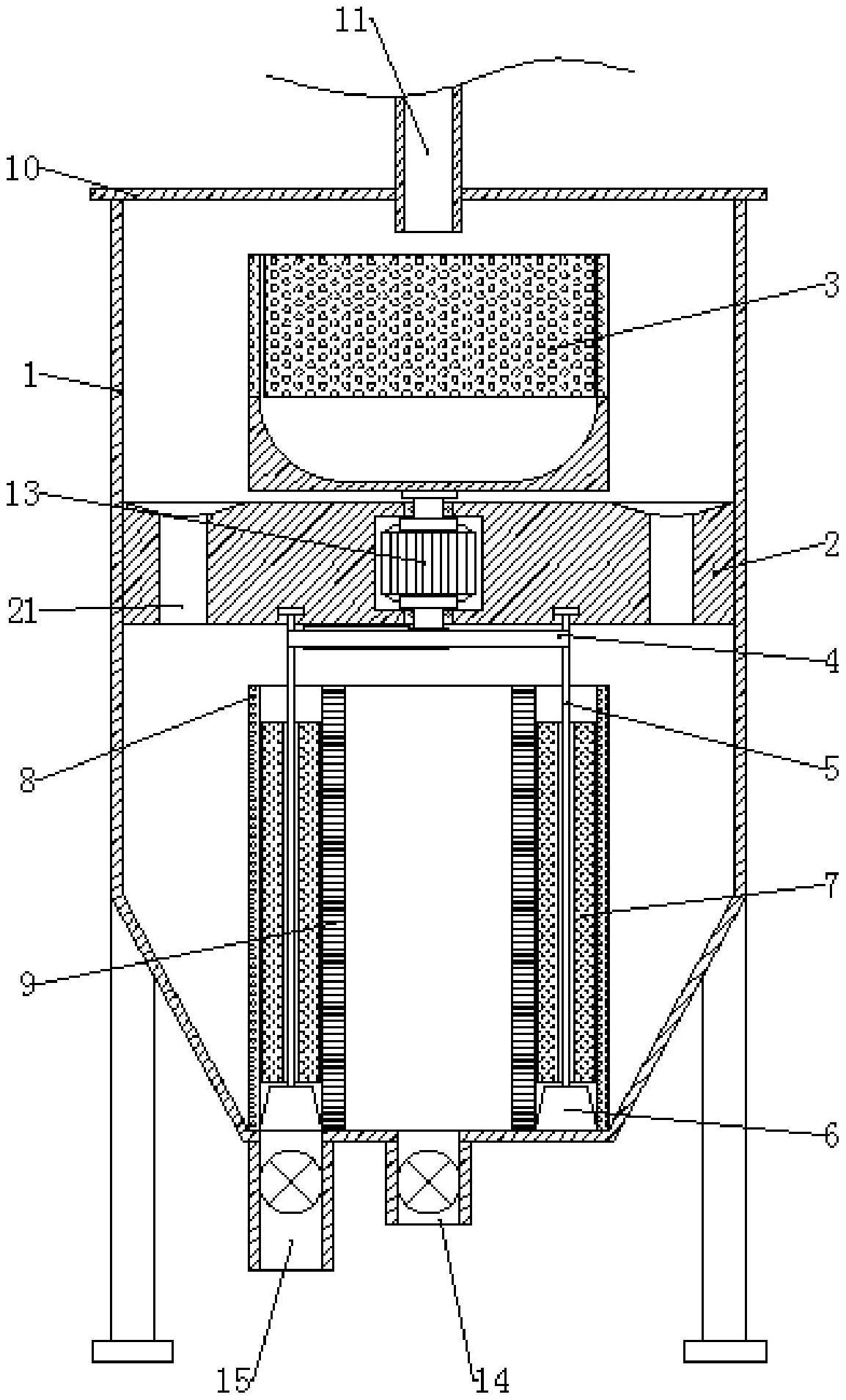
本实用新型公开了一种茶油加工用多重过滤装置,包括过滤罐,过滤罐内部设置有加固隔板,加固隔板将过滤罐内部划分为顶部的第一过滤腔和底部的第二过滤腔,第一过滤腔内部转动安装有离心过滤筒,第二过滤腔内部固定有环状过滤板和环状过滤网,环状过滤板内壁和环状过滤网外壁之间形成有拦截区,拦截区内部设置有轴杆,轴杆外壁固定套接有用来清理拦截区侧壁上杂质刮料筒,轴杆底部设置有用来刮除拦截区底壁上杂质的刮板,拦截区底壁一侧的过滤罐上固定有杂质管,环状过滤网底部中间的过滤罐上安装有出油管。本实用新型具有过滤时,环状过滤板和环状过滤网不易堵塞的优点。


