授权公布号:CN217613448U
提高食用植物油精炼收率的设备
有效
申请
2022-07-29
申请公布
1970-01-01
授权
2022-10-21
预估到期
2032-07-29
| 申请号 | CN202221981628.0 |
| 申请日 | 2022-07-29 |
| 授权公布号 | CN217613448U |
| 授权公告日 | 2022-10-21 |
| 分类号 | B01D36/00;B01D35/16;B01D29/01;B01D29/90;B01F35/32;B01F27/90;B01F27/808;B01F35/12 |
| 分类 | 一般的物理或化学的方法或装置; |
| 申请人名称 | 山东兴泉油脂有限公司 |
| 申请人地址 | 山东省临沂市莒南县县城嵋山路北侧 |
专利法律状态
2022-10-21
授权
状态信息
授权
摘要
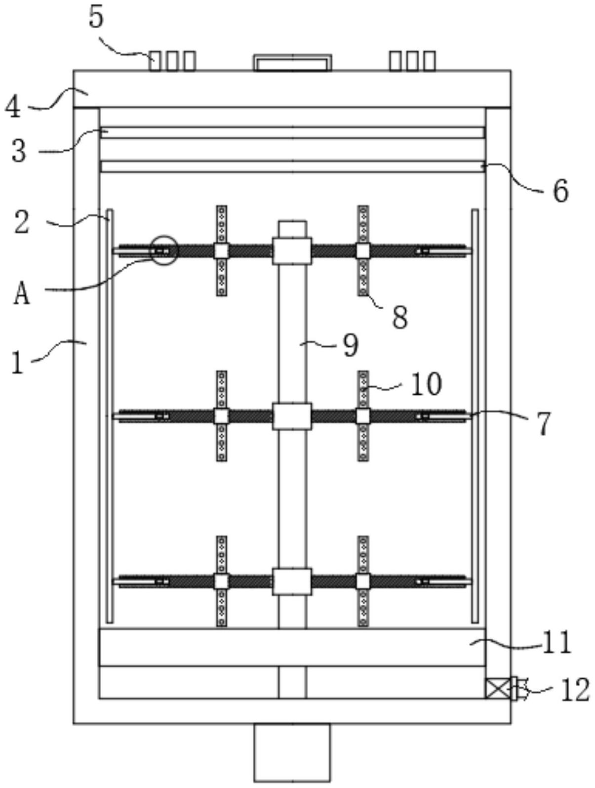
本实用新型公开了一种提高食用植物油精炼收率的设备,包括入料壳体以及安装在入料壳体上的密封盖,入料壳体内转动连接有驱动轴,驱动轴上等间距安装有多个安装筒,每个安装筒内开设有开口朝入料壳体内侧壁上的安装腔,安装腔的内侧壁通过弹簧滑动连接有由磁性材料制成的活动杆,安装筒内还安装有与活动杆产生吸附力的电磁阀。本实用新型通过刮刀、均匀板、密封盖、入料管、滤渣网、活动杆、搅拌叶、驱动轴、扰流孔、过滤脱色器、阀门、弹簧、安装筒、电磁阀等结构的相互作用,避免长时间使用对杂质的清理,减少对植物油品质的影响,也可以进一步的提高收率。


