授权公布号:CN214937305U
可降低玉米油中反式脂肪酸含量的脱臭设备
有效
申请
2021-06-30
申请公布
1970-01-01
授权
2021-11-30
预估到期
2031-06-30
| 申请号 | CN202121473463.1 |
| 申请日 | 2021-06-30 |
| 授权公布号 | CN214937305U |
| 授权公告日 | 2021-11-30 |
| 分类号 | C11B3/10;C11B3/12 |
| 分类 | 动物或植物油、脂、脂肪物质或蜡;由此制取的脂肪酸;洗涤剂;蜡烛; |
| 申请人名称 | 山东兴泉油脂有限公司 |
| 申请人地址 | 山东省临沂市莒南县县城嵋山路北侧 |
专利法律状态
2021-11-30
授权
状态信息
授权
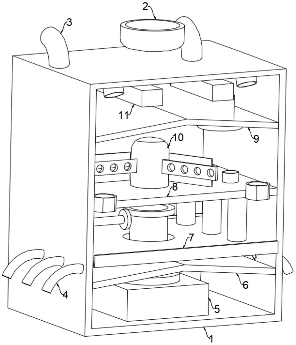
摘要
本实用新型公开了一种可降低玉米油中反式脂肪酸含量的脱臭设备,包括固定安装在箱体上的排气管,所述箱体内固定安装有伺服电机、加热底板、固定板、隔气板以及两个吸附块,所述伺服电机的驱动端与加热底板、固定板之间通过转辊安装有搅拌机构,所述固定板与隔气板上均固定安装有单向上气管,所述箱体内安装有导料机构,所述箱体内通过滑动机构安装有移动板,且移动板与转辊之间安装有传动机构,所述移动板上开设有滤孔,且每个滤孔内均固定安装有尖刺杆。本实用新型优点在于:能够对玉米油进行高效率、均匀的多次加热,从而可将玉米油内的臭味物质有效的蒸出,且可将加热时产生的臭气泡沫消除,使得臭气物质的收集更为彻底。


