授权公布号:CN218551214U
一种花生油生产用进料机构
有效
申请
2022-09-05
申请公布
1970-01-01
授权
2023-03-03
预估到期
2032-09-05
| 申请号 | CN202222351637.8 |
| 申请日 | 2022-09-05 |
| 授权公布号 | CN218551214U |
| 授权公告日 | 2023-03-03 |
| 分类号 | A23N12/02;B01D29/03 |
| 分类 | 其他类不包含的食品或食料;及其处理; |
| 申请人名称 | 濮阳训达粮油股份有限公司 |
| 申请人地址 | 河南省濮阳市濮阳县八公桥镇南关 |
专利法律状态
2023-03-03
授权
状态信息
授权
摘要
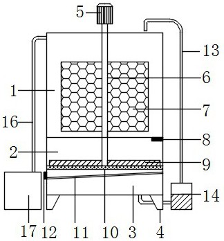
本实用新型公开了一种花生油生产用进料机构,所述清洗仓底部连接出料仓,所述出料仓底部连接回收仓,所述回收仓底部设有支撑腿,所述清洗仓和出料仓内设有联动杆,所述联动杆顶部连接电机,所述清洗仓内部连动杆的侧面连接搅拌板,所述出料仓内部连动杆侧面连接刮料板,所述清洗仓和出料仓连接处设有下料阀门,所述出料仓底部为不锈钢滤网,所述不锈钢滤网上设有连通外部的出料口,所述不锈钢滤网下方设有滤水网,所述滤水网倾斜设置,且滤水网较低的一端设有收集口,所述回收仓底部连接回水管,且回水管上设有水泵,所述清洗仓侧壁顶部设定有出水口,本实用新型实现了花生的清洗及压榨机自动进料、且减少了水资源的浪费。


