授权公布号:CN213761522U
一种调味油生产用自称重式热油机
有效
申请
2020-11-04
申请公布
1970-01-01
授权
2021-07-23
预估到期
2030-11-04
| 申请号 | CN202022542013.5 |
| 申请日 | 2020-11-04 |
| 授权公布号 | CN213761522U |
| 授权公告日 | 2021-07-23 |
| 分类号 | B01F7/32;B01F15/06;B01F15/00;B01F15/02;B01F15/04;G01G19/24;G01G21/02 |
| 分类 | 一般的物理或化学的方法或装置; |
| 申请人名称 | 洛阳春旺食品有限公司 |
| 申请人地址 | 河南省洛阳市老城区沟上村七组 |
专利法律状态
2021-07-23
授权
状态信息
授权
摘要
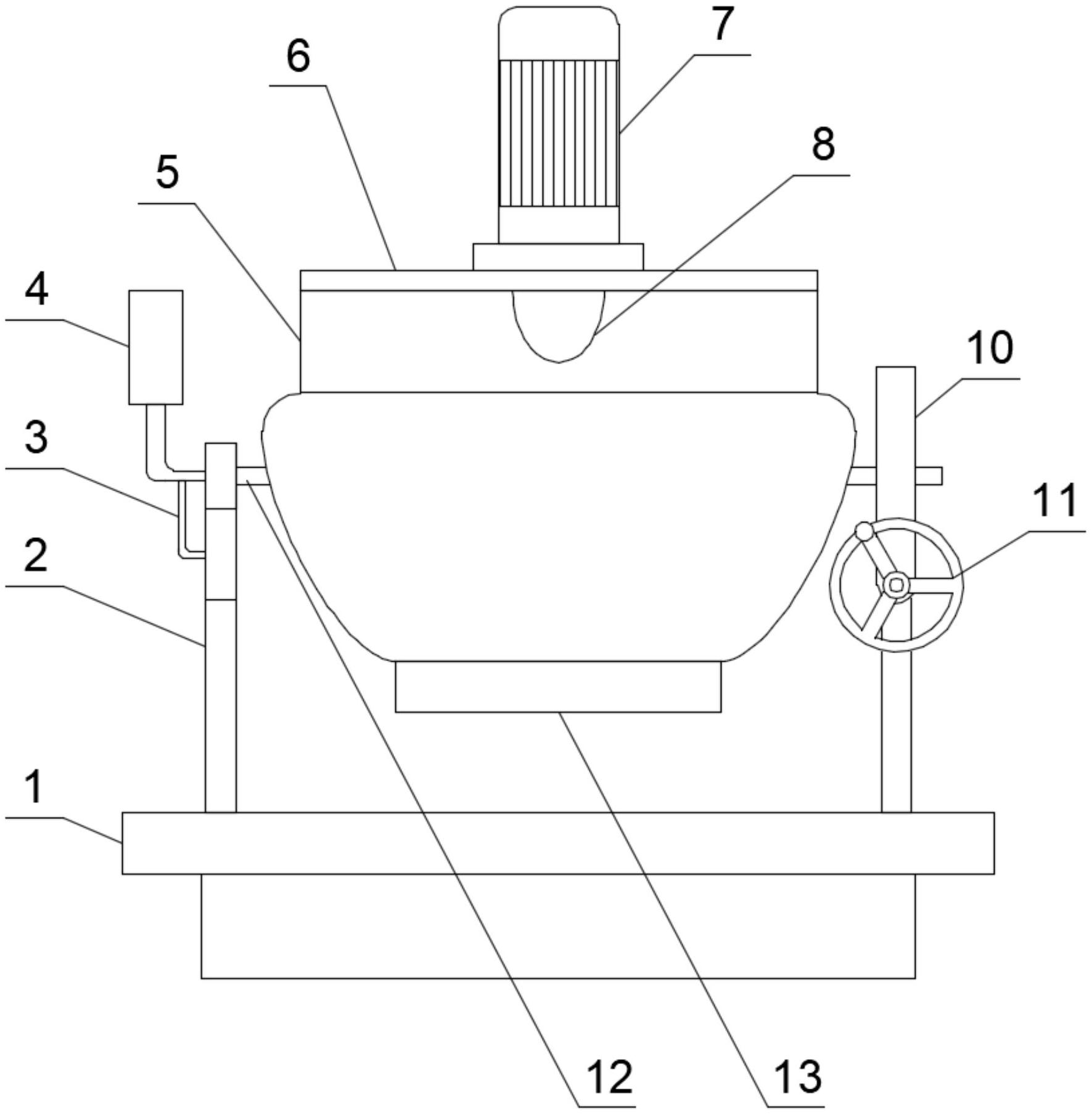
本实用新型公开了一种调味油生产用自称重式热油机,包括称量装置,所述称量装置上设有第一支撑装置,所述第一支撑装置顶部左右两端分别设有滚柱轴承和转动装置,所述滚柱轴承和转动装置之间通过转轴活动安装有盛放装置,所述盛放装置底部设有电加热装置,所述盛放装置顶部设有盖体,所述盖体底部设有搅拌架,所述盖体为半开盖结构,所述搅拌架顶部与驱动源的工作端连接,所述驱动源安装在盖体上,所述滚柱轴承和盛放装置之间的转轴内部开设有连通孔,所述连通孔与盛放装置内部连通,所述连通孔远离盛放装置的一端活动连通有连通器;本实用新型一种调味油生产用自称重式热油机具有操作简单,省时省力,适合批量生产调味油的优点。


