授权公布号:CN213762035U
一种组合式石磨加工设备
有效
申请
2020-10-30
申请公布
1970-01-01
授权
2021-07-23
预估到期
2030-10-30
| 申请号 | CN202022469443.9 |
| 申请日 | 2020-10-30 |
| 授权公布号 | CN213762035U |
| 授权公告日 | 2021-07-23 |
| 分类号 | B02C7/06;B02C7/16;B02C7/18;B02C23/02;B08B1/04 |
| 分类 | 破碎、磨粉或粉碎;谷物碾磨的预处理; |
| 申请人名称 | 洛阳春旺食品有限公司 |
| 申请人地址 | 河南省洛阳市老城区沟上村七组 |
专利法律状态
2021-07-23
授权
状态信息
授权
摘要
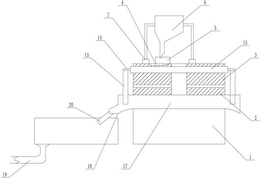
一种组合式石磨加工设备,包括底座,底座上安装有磨盘,磨盘包括位于下方的固定磨盘以及位于固定磨盘的上方的滚动磨盘,滚动磨盘上开设有下料槽,固定磨盘的下方设置有集料组件,滚动磨盘的上方设置有下料组件,下料组件包括安装在下料槽上方的下料斗一,下料斗一的进料口处设置有下料斗二,滚动磨盘的上表面设置有用于安装下料斗二的固定板,下料斗二的出料处设置有辅助下料的挡板,下料斗二的外侧壁上设置有用于控制挡板开合的拉力装置,通过在下料斗一上增设下料斗二,通过在下料斗的出料端进行增设挡板来实现定量下料,通过拉力装置的设置可以实现对下料量的控制,进行防止由于下料过快二发生料斗堵塞,影响作业效率。


