授权公布号:CN220218728U
一种萝卜干生产加工用切丁装置
有效
申请
2023-07-13
申请公布
1970-01-01
授权
2023-12-22
预估到期
2033-07-13
| 申请号 | CN202321842097.1 |
| 申请日 | 2023-07-13 |
| 授权公布号 | CN220218728U |
| 授权公告日 | 2023-12-22 |
| 分类号 | B26D7/06;B26D7/18;B26D7/27;B26D1/06 |
| 分类 | 手动切割工具;切割;切断; |
| 申请人名称 | 四川内江威宝食品有限公司 |
| 申请人地址 | 四川省内江市威远县镇西镇胜利街(经营场所:威远县镇西镇护民村11社) |
专利法律状态
2023-12-22
授权
状态信息
授权
摘要
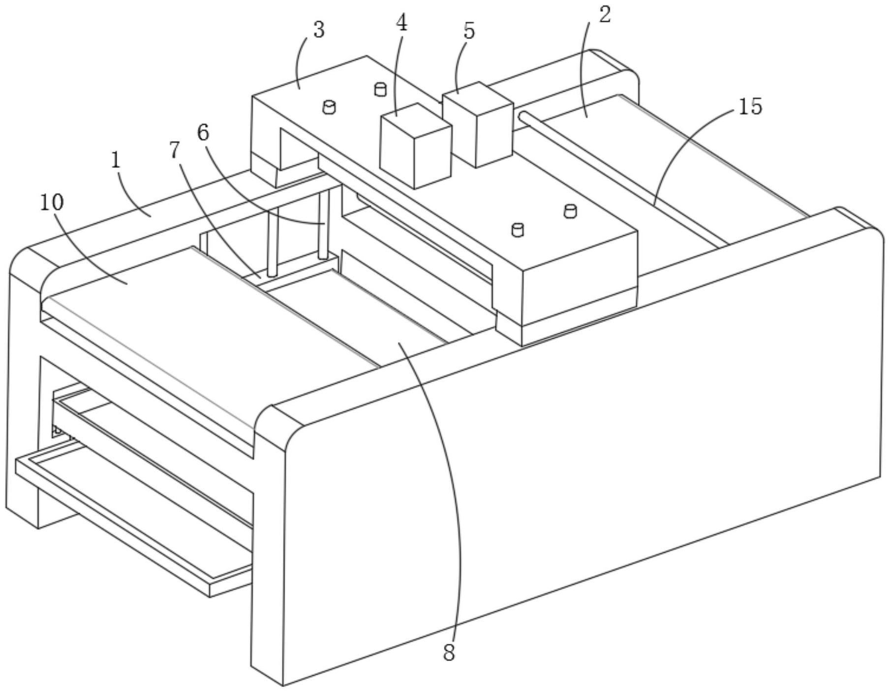
本实用新型公开了一种萝卜干生产加工用切丁装置,包括机架,所述机架上表面的一端安装有进料传送带,所述机架的顶部固定有顶架,所述顶架的底部分别安装有对萝卜切丁的切刀组件以及对萝卜条压紧的压紧机构;本实用新型通过将传统的切丁机传送带设置为能够单独运转的三部分,使萝卜条在将前半部分切成丁后,位于中间的分选传送带在升降板以及驱动机构的带动下下降,此时分选传送带上的萝卜丁被带动到筛网的一侧,并通过分选传送带的运转使萝卜丁进入筛网内,进行筛分,通过出料传送带卸出,萝卜尾部与头部相同进行筛分,该方式能够将萝卜两端较小的萝卜丁筛出,提高萝卜切丁整体的大小均匀性。


