授权公布号:CN214361216U
一种冷榨芝麻油多级滤油装置
有效
申请
2021-02-26
申请公布
1970-01-01
授权
2021-10-08
预估到期
2031-02-26
| 申请号 | CN202120422710.9 |
| 申请日 | 2021-02-26 |
| 授权公布号 | CN214361216U |
| 授权公告日 | 2021-10-08 |
| 分类号 | C11B3/00 |
| 分类 | 动物或植物油、脂、脂肪物质或蜡;由此制取的脂肪酸;洗涤剂;蜡烛; |
| 申请人名称 | 平舆康博汇鑫油脂有限公司 |
| 申请人地址 | 河南省驻马店市平舆县西工业区 |
专利法律状态
2021-10-08
授权
状态信息
授权
摘要
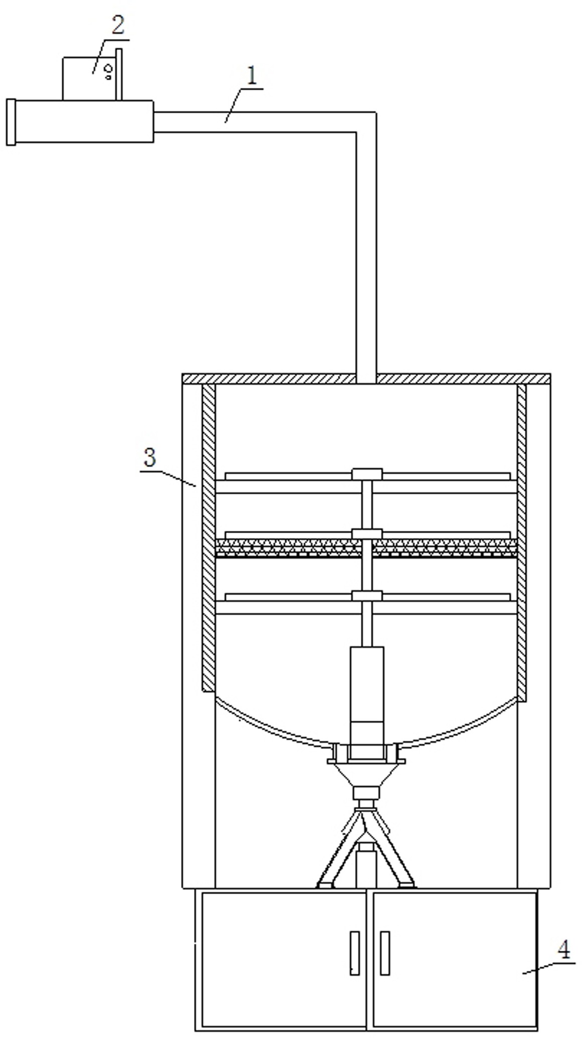
本实用新型公开了一种冷榨芝麻油多级滤油装置,包括排入管道,排入管道的侧端连接流量监测器,排入管道的下方连接过滤组件;过滤组件包括过滤腔、过滤网、搅拌组件和出油口,过滤腔的内部三组过滤网,三组过滤网之间由过滤孔径从大到小排布固定在过滤腔内,三组过滤网之间由搅拌组件贯穿连接,过滤腔的底端设置出油口,出油口中间设置搅拌组件,过滤组件的下方设置储存装置。本实用新型一种冷榨芝麻油多级滤油装置,对过滤网表面进行刮压,有效对油渣进行挤压清理,提高滤油效率,且伸缩气缸带动刮杆调整位置,有效紧贴过滤网,便于来回进行转换,防止油收集满后更换时出现泄漏,提高收集效率,抽出箱可通过滚轮抽出,便于移动运输。


