授权公布号:CN115327875B
一种应用废粉收集组件的打印机硒鼓
有效
申请
2022-08-25
申请公布
2022-11-11
授权
2023-07-25
预估到期
2042-08-25
| 申请号 | CN202211028006.0 |
| 申请日 | 2022-08-25 |
| 申请公布号 | CN115327875A |
| 申请公布日 | 2022-11-11 |
| 授权公布号 | CN115327875B |
| 授权公告日 | 2023-07-25 |
| 分类号 | G03G21/00;G03G21/06;G03G21/12;G03G21/14;G03G15/00 |
| 分类 | 摄影术;电影术;利用了光波以外其他波的类似技术;电记录术;全息摄影术〔4〕; |
| 申请人名称 | 广州市三横信息科技有限公司 |
| 申请人地址 | 广东省广州市增城区新塘镇新塘大道西642号 |
专利法律状态
2023-07-25
授权
状态信息
授权
2022-11-29
实质审查的生效
状态信息
实质审查的生效;IPC(主分类):G03G21/00;申请日:20220825
2022-11-11
公布
状态信息
公布
摘要
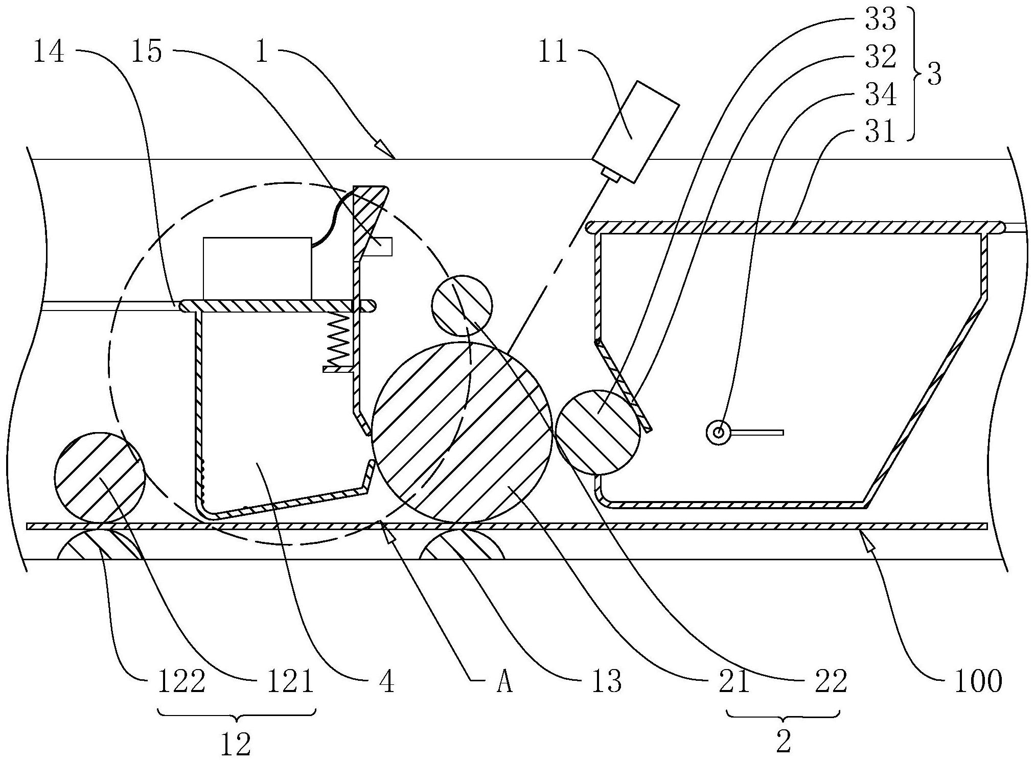
本申请涉及有打印机供排粉系统的技术领域,公开了一种应用废粉收集组件的打印机硒鼓,包括感光鼓组件、墨盒组件和废粉收集组件,打印机主体设置有供纸组件、激光组件、定影组件和转印辊,所述感光鼓组件固定连接于打印机主体,所述感光鼓组件包括感光鼓和充电辊,所述感光鼓设置于转印辊的上方,用于将墨粉列印至纸张上,所述墨盒组件可拆卸式连接于打印机主体,所述废粉收集组件包括废粉仓、清洁刮刀;所述清洁刮刀抵接于感光鼓上,所述废粉仓的开口位于清洁刮刀下方,所述废粉收集组件设置有废粉口,可由此口清理废粉仓;本申请具有降低鼓粉分离式硒鼓产生的多余墨粉对打印质量二次影响的效果。


