授权公布号:CN209775849U
一种带切刀的打印机
有效
申请
2019-01-25
申请公布
1970-01-01
授权
2019-12-13
预估到期
2029-01-25
| 申请号 | CN201920132982.8 |
| 申请日 | 2019-01-25 |
| 授权公布号 | CN209775849U |
| 授权公告日 | 2019-12-13 |
| 分类号 | B41J2/225;B41J11/70 |
| 分类 | 印刷;排版机;打字机;模印机〔4〕; |
| 申请人名称 | 大连中盈科技股份有限公司 |
| 申请人地址 | 辽宁省大连市甘井子区大连湾街道苏家工业园银峡路18号 |
专利法律状态
2019-12-13
授权
状态信息
授权
摘要
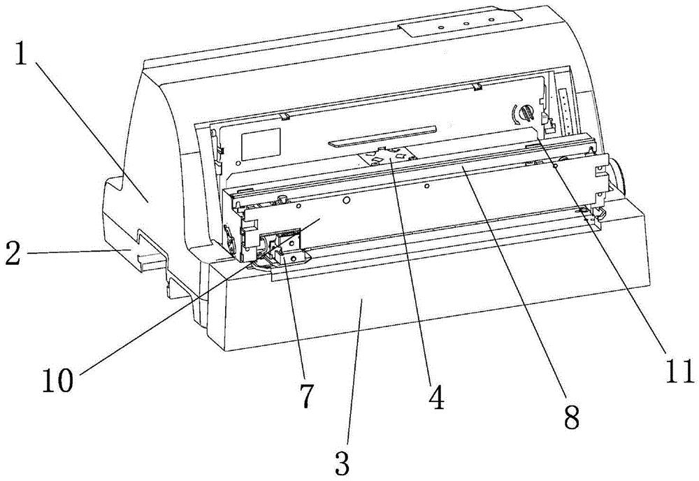
一种带切刀的打印机,属于打印机技术领域。技术方案如下:包括:上壳、下壳组件、导纸板组件、机架组件、打印头组件和切刀结构,所述上壳安装在所述下壳组件上,所述导纸板组件与所述下壳组件连接,所述机架组件安装在所述下壳组件上,所述打印头组件与所述机架组件连接,所述下壳组件上方安装有可拆卸的切刀结构。有益效果是:本实用新型所述的带切刀的打印机设有可拆卸的切刀结构,在需要切刀时,可将其装上,实现切刀的功能,如果不需要也可将其拆卸,只用正常的针式打印机;采用皮带带动切刀架组件和切刀组件传动,圆切刀在齿轮齿条的带动下平稳地运行,进行切纸,切纸边缘整齐平整。


