授权公布号:CN218290857U
一种枸杞辣椒用发酵罐
有效
申请
2022-05-31
申请公布
1970-01-01
授权
2023-01-13
预估到期
2032-05-31
| 申请号 | CN202221341415.1 |
| 申请日 | 2022-05-31 |
| 授权公布号 | CN218290857U |
| 授权公告日 | 2023-01-13 |
| 分类号 | C12M1/00;A23L33/10;A23L19/00 |
| 分类 | 生物化学;啤酒;烈性酒;果汁酒;醋;微生物学;酶学;突变或遗传工程; |
| 申请人名称 | 宁夏沙湖食品有限公司 |
| 申请人地址 | 宁夏回族自治区石嘴山市平罗县高庄乡109国道西侧头石路口 |
专利法律状态
2023-01-13
授权
状态信息
授权
摘要
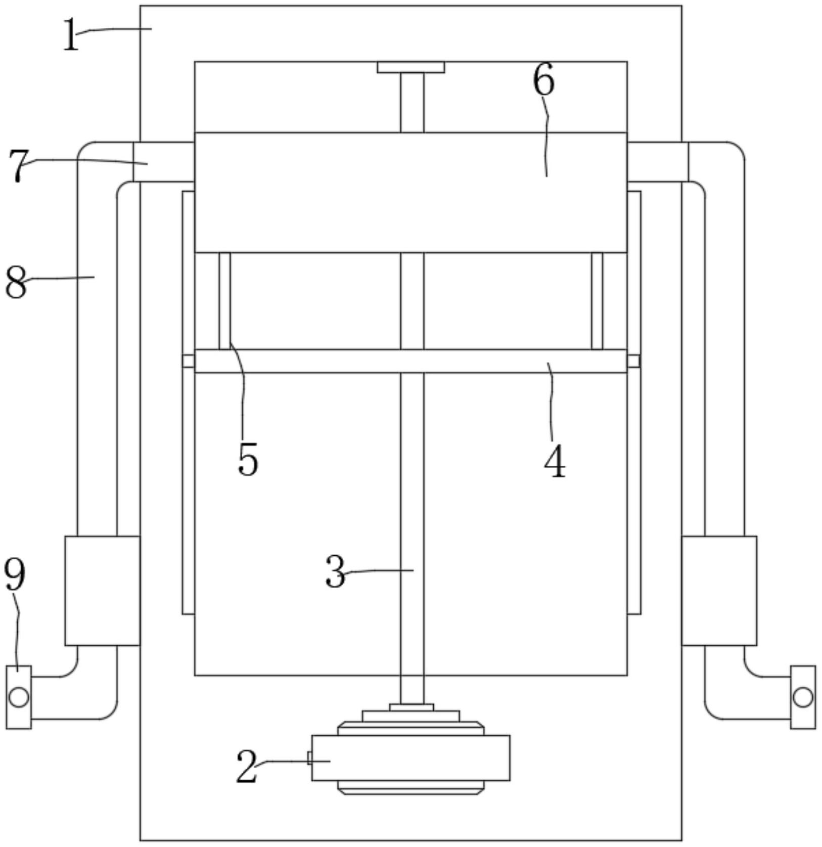
本实用新型公开了一种枸杞辣椒用发酵罐,涉及发酵罐技术领域,包括罐体,所述罐体的内壁顶端转动连接有丝杆,所述丝杆的外壁套接有与罐体内部契合的主动台,所述主动台下方位于从动环的外壁套接有从动环,所述从动环的顶端设有与主动台底端固定的若干组连接杆,所述罐体的内侧开设有至罐体外侧的两组取出口。本实用新型通过设置从动环、连接杆、主动台、取出口、L管和电磁阀相互配合,从动环推动枸杞辣椒进入液体中,随之液体融入主动台的顶端,经过取出口进入L管内,打开电磁阀即可取出发酵后的液体进行勾兑,取出的过程中处于密封状态下,避免外界的空气进入罐体内的情况,即可继续对枸杞辣椒进行发酵。


