授权公布号:CN216126230U
一种米粉加工用清洗输送装置
有效
申请
2021-10-15
申请公布
1970-01-01
授权
2022-03-25
预估到期
2031-10-15
| 申请号 | CN202122483857.1 |
| 申请日 | 2021-10-15 |
| 授权公布号 | CN216126230U |
| 授权公告日 | 2022-03-25 |
| 分类号 | B08B3/14;B65G17/06 |
| 分类 | 清洁; |
| 申请人名称 | 四川万高达味食品有限公司 |
| 申请人地址 | 四川省绵阳市经济技术开发区报恩街2号 |
专利法律状态
2022-03-25
授权
状态信息
授权
摘要
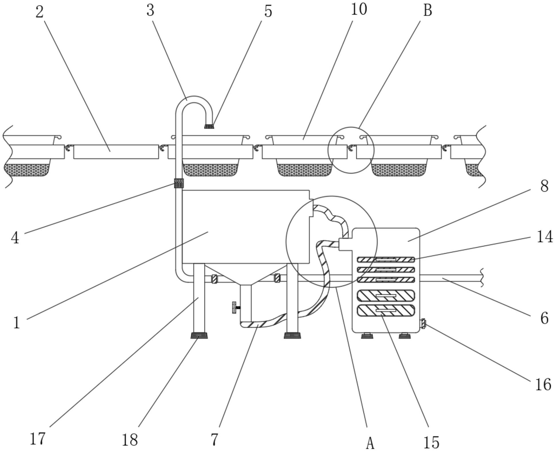
本实用新型涉及米粉加工技术领域,且公开了一种米粉加工用清洗输送装置,包括洗米机和传送件,所述洗米机底部固定连接有U型洗米管,所述U型洗米管表面设置有旋转器,所述U型洗米管顶部末端设置有出米口,所述洗米机底部固定连接有进水管,所述洗米机底部固定连接有废水管,所述废水管右侧固定连接有废水处理器,所述传送件在洗米机上方,所述传送件内部开设有放置口,所述放置口内部放置有洗米斗,所述洗米斗在出米口下方。该米粉加工用清洗输送装置,通过洗米机、传送件、U型洗米管、旋转器、出米口、放置口和洗米斗等部分的连接和作用,达到简单操作自动输送,机械运行节约时间,降低作业人员疲劳提高效率的效果。


