授权公布号:CN213058891U
一种米粉原料送粉装置
有效
申请
2020-08-27
申请公布
1970-01-01
授权
2021-04-27
预估到期
2030-08-27
| 申请号 | CN202021820941.7 |
| 申请日 | 2020-08-27 |
| 授权公布号 | CN213058891U |
| 授权公告日 | 2021-04-27 |
| 分类号 | B65G33/14;B01D29/05 |
| 分类 | 输送;包装;贮存;搬运薄的或细丝状材料; |
| 申请人名称 | 四川万高达味食品有限公司 |
| 申请人地址 | 四川省绵阳市经济技术开发区塘坊大道169号 |
专利法律状态
2021-04-27
授权
状态信息
授权
摘要
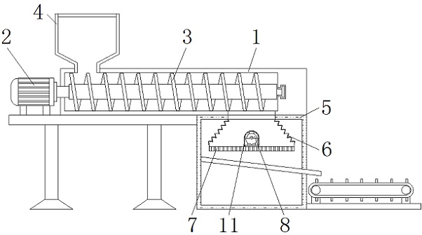
本实用新型公开了一种米粉原料送粉装置,包括送粉装置主体、驱动电机、进料螺杆和双头电机,所述送粉装置主体的左端安装有驱动电机,且驱动电机的输出端安装有进料螺杆,所述送粉装置主体的上侧焊接有上料桶,且送粉装置主体的下侧固定有防护桶,所述防护桶的内部活动连接有支撑杆,且支撑杆的内部焊接有弹簧,所述支撑杆的外侧紧密贴合有连接块,且连接块的外侧紧密贴合有固定板,所述固定板远离防护桶的一侧一体化设置有过滤板。该米粉原料送粉装置,能够有效避免原料堆积在过滤板上,可提高过滤效率,保证下料顺利,且可避免原料从过滤板上飞出,避免浪费,并且方便拆装和更换过滤板,操作简便,便于清理。


