授权公布号:CN214938776U
一种造纸用于清理烘缸的刮刀旋转装置
有效
申请
2021-06-11
申请公布
1970-01-01
授权
2021-11-30
预估到期
2031-06-11
| 申请号 | CN202121309159.3 |
| 申请日 | 2021-06-11 |
| 授权公布号 | CN214938776U |
| 授权公告日 | 2021-11-30 |
| 分类号 | D21G3/04 |
| 分类 | 造纸;纤维素的生产; |
| 申请人名称 | 山东金蔡伦纸业有限公司 |
| 申请人地址 | 山东省聊城市阳谷县华山路8号 |
专利法律状态
2021-11-30
授权
状态信息
授权
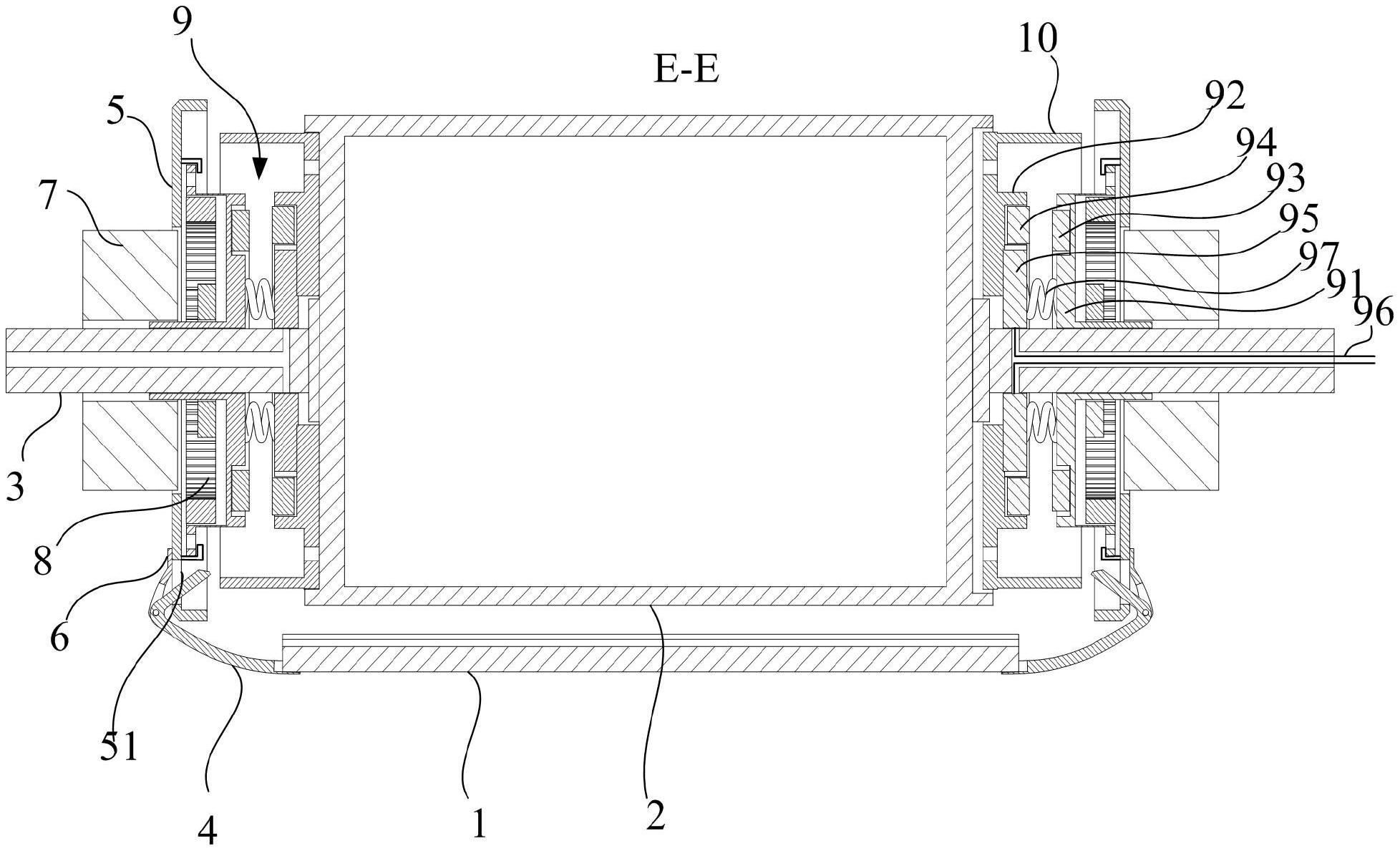
摘要
本实用新型提出一种造纸用于清理烘缸的刮刀旋转装置,包括刮刀和烘缸,烘缸的两端设置有转轴,刮刀的两端均转动设置有摆臂,摆臂转动设置在活动盖上,活动盖上设置有与摆臂铰接的铰支座,活动盖在其远离烘缸端面的一侧设置有固定座,固定座朝向活动盖的一侧与活动盖转动配合,固定座与活动盖之间设置有换向齿轮组,换向齿轮组用来带动活动盖与烘缸反向转动,换向齿轮组与烘缸之间设置有电磁离合机构,电磁离合机构的外侧设置有环形的制动板,制动板用来驱动摆臂作平面运动。本实用新型中的刮刀可与烘缸同时作反向旋转运动来完成对烘缸表面的清理作业,设计合理,结构简单,清理效果较好且清理效率较高,适合大规模推广。


