授权公布号:CN218404849U
用于轻型印刷纸生产的阔叶化机浆池
有效
申请
2022-07-22
申请公布
1970-01-01
授权
2023-01-31
预估到期
2032-07-22
| 申请号 | CN202221917554.4 |
| 申请日 | 2022-07-22 |
| 授权公布号 | CN218404849U |
| 授权公告日 | 2023-01-31 |
| 分类号 | D21D5/28 |
| 分类 | 造纸;纤维素的生产; |
| 申请人名称 | 山东金蔡伦纸业有限公司 |
| 申请人地址 | 山东省聊城市阳谷县华山路8号 |
专利法律状态
2023-01-31
授权
状态信息
授权
摘要
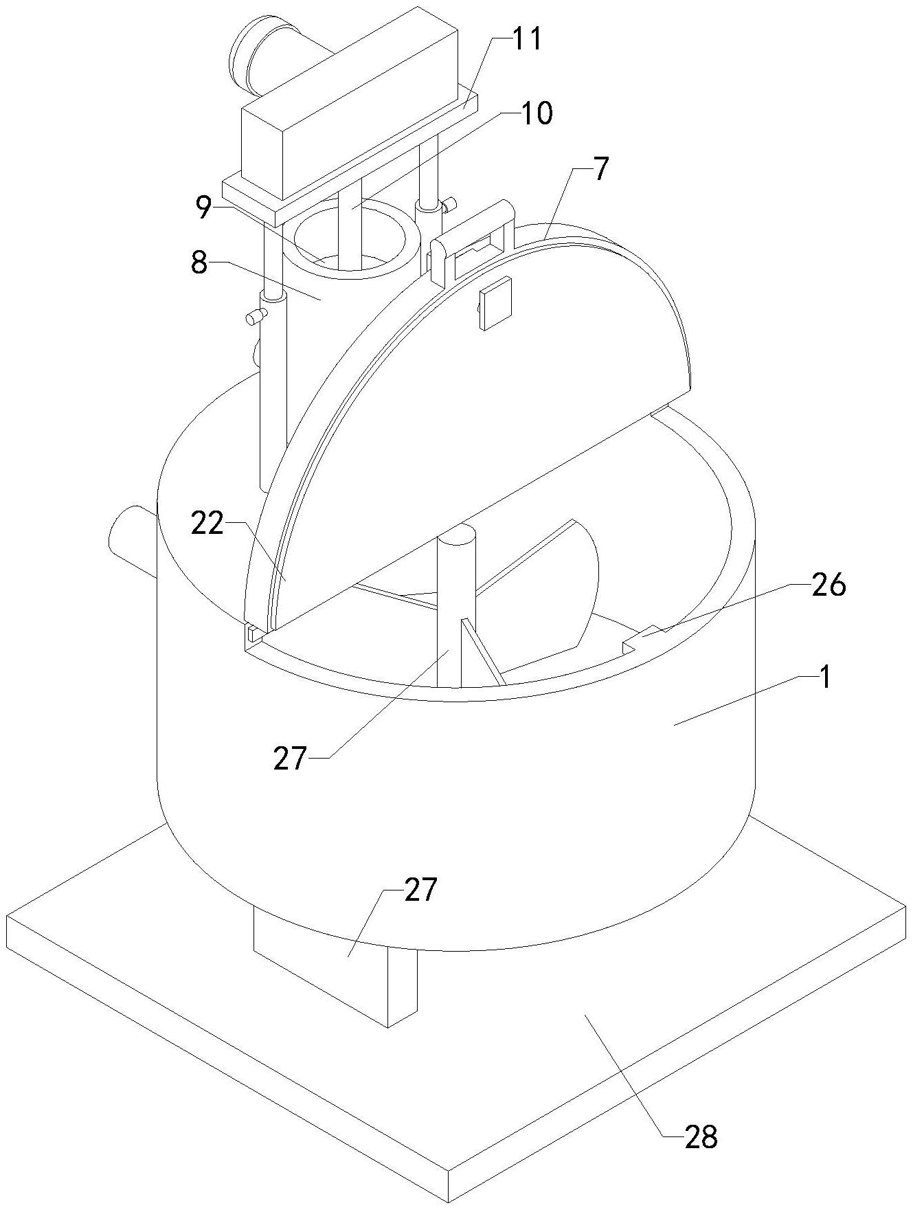
本实用新型涉及纸浆加工的技术领域,特别是涉及一种用于轻型印刷纸生产的阔叶化机浆池,其通过空气加压来使机浆池的机浆更加通常快速的排出,提高可靠性;包括阔叶机浆池、搅拌电机、减速机、开闭阀、出液管、合页、池盖和支撑架,阔叶机浆池底端中部与减速机顶端相连接,搅拌电机输出端连接有支撑架,阔叶机浆池顶端后侧与加压筒底部输出端相连通,加压筒内滑动连接有活塞,活塞顶端通过连接杆与连接片底端中部相连接,连接片上部设置有传动机构,加压电机输出端连接传动机构输入端,传动机构输出端与两组螺杆顶端转动连接,阔叶机浆池顶端后侧的加压筒左右侧分别与一组螺管底端相连接,螺杆与螺管螺装连接,加压筒后侧输入端连通设置有进气口。


