授权公布号:CN213313501U
轻型纸生产用废水池刮泥装置
有效
申请
2020-09-14
申请公布
1970-01-01
授权
2021-06-01
预估到期
2030-09-14
| 申请号 | CN202022000520.6 |
| 申请日 | 2020-09-14 |
| 授权公布号 | CN213313501U |
| 授权公告日 | 2021-06-01 |
| 分类号 | B01D21/00 |
| 分类 | 一般的物理或化学的方法或装置; |
| 申请人名称 | 山东金蔡伦纸业有限公司 |
| 申请人地址 | 山东省聊城市阳谷县华山路8号 |
专利法律状态
2021-06-01
授权
状态信息
授权
摘要
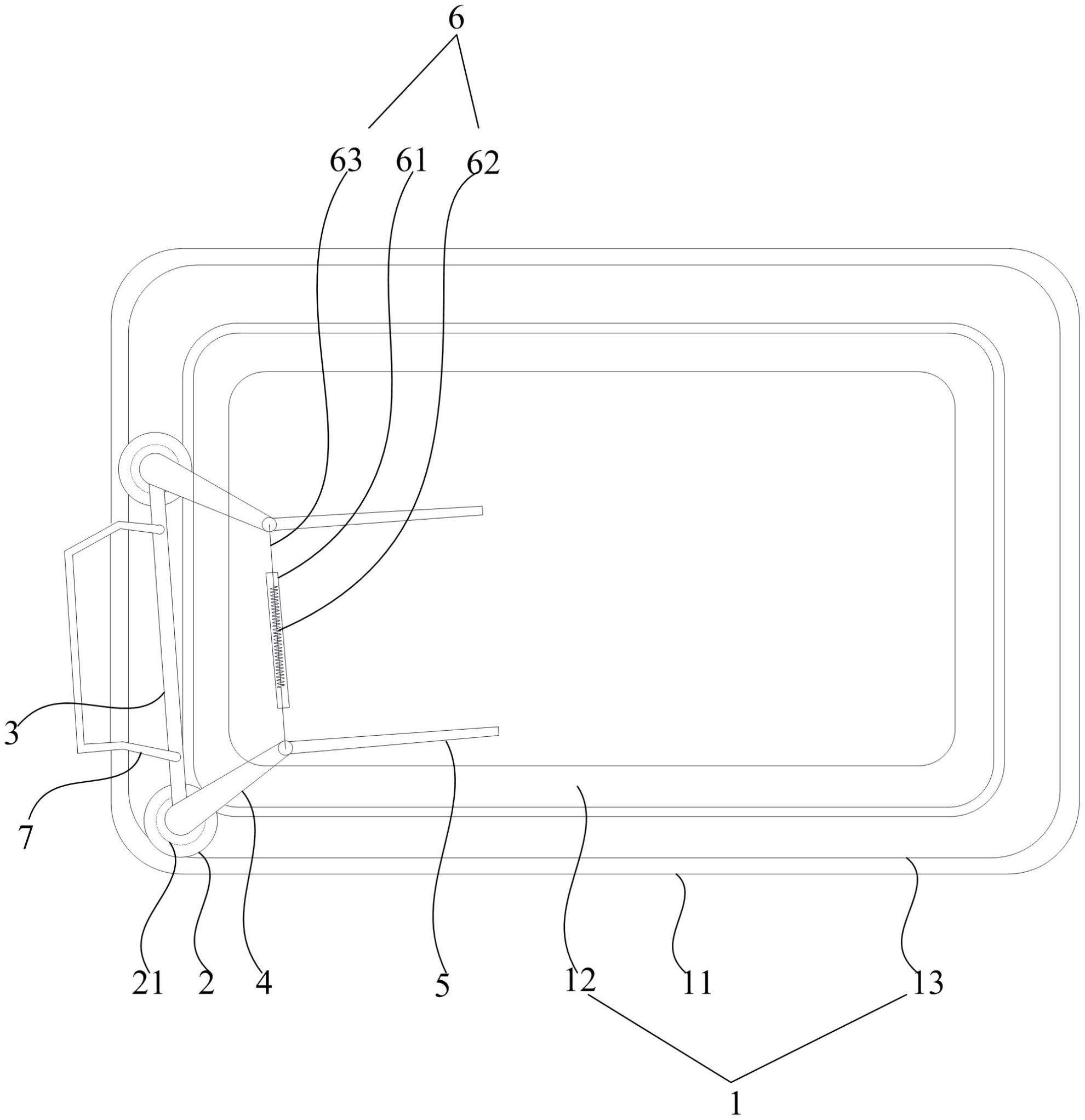
本实用新型提出一种轻型纸生产用废水池刮泥装置,包括轨道箱,轨道箱的横截面呈回字形并且围绕废水池设置,轨道箱包括水平部和竖直部,水平部上设置有轨道槽,轨道槽中设置有两个行走座,行走座的底部设置有行走盘,行走座的顶部设置有立杆,两个行走座的立杆通过定长板连接,行走座的上转动设置有转动臂,转动臂的一端设置有刮泥臂,刮泥臂包括刮泥大臂、刮泥小臂、大臂刮刀和小臂刮刀,两个行走座上的转动臂通过变长杆组件连接,定长板上设置有U型的扶手杆。本装置的行走座可在手推扶手杆下沿着轨道箱行走,在行走过程中能够同时对废水池的侧面和底面进行刮泥作业,刮泥效率较高,可操作性较强,实用性较强,适合大规模推广。


