授权公布号:CN213083616U
轻型纸生产用半自动打包装置
有效
申请
2020-09-14
申请公布
1970-01-01
授权
2021-04-30
预估到期
2030-09-14
| 申请号 | CN202022000505.1 |
| 申请日 | 2020-09-14 |
| 授权公布号 | CN213083616U |
| 授权公告日 | 2021-04-30 |
| 分类号 | B65B41/12;B65H23/26;B65B11/04 |
| 分类 | 输送;包装;贮存;搬运薄的或细丝状材料; |
| 申请人名称 | 山东金蔡伦纸业有限公司 |
| 申请人地址 | 山东省聊城市阳谷县华山路8号 |
专利法律状态
2021-04-30
授权
状态信息
授权
摘要
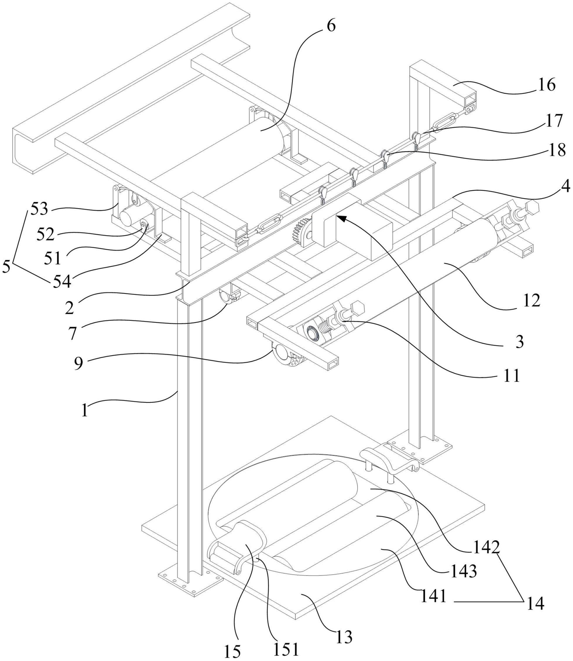
本实用新型提出一种轻型纸生产用半自动打包装置,包括门型架,门型架的顶部设置有横轨,横轨的侧面设置有行走驱动装置,行走驱动装置的底部设置有辊轴支架,辊轴支架上前后设置有料辊支撑组件、第一轴承座、第二轴承座和转动调节组件,料辊支撑组件之间设置有料辊,第一轴承座之间设置有第一导向辊,第二轴承座之间设置有第二导向辊,转动调节组件之间设置有第三导向辊,辊轴支架的下方设置有包装台,包装台的中间设置有旋转支撑组件,包装台上转动设置有一对定位板,定位板的底部设置有两个与转盘配合的定位柱。本装置不仅结构简单,占地空间较小,成本较低,还采用半自动形式有效提高了包装效率,实用性较强,适合大规模推广。


