授权公布号:CN214503474U
一种火锅底料中辣椒素检测用高效液相色谱进样器
有效
申请
2021-01-28
申请公布
1970-01-01
授权
2021-10-26
预估到期
2031-01-28
| 申请号 | CN202120245622.6 |
| 申请日 | 2021-01-28 |
| 授权公布号 | CN214503474U |
| 授权公告日 | 2021-10-26 |
| 分类号 | G01N30/18 |
| 分类 | 测量;测试; |
| 申请人名称 | 四川省阳家私坊食品开发有限公司 |
| 申请人地址 | 四川省成都市彭州致和镇长江路268号 |
专利法律状态
2021-10-26
授权
状态信息
授权
摘要
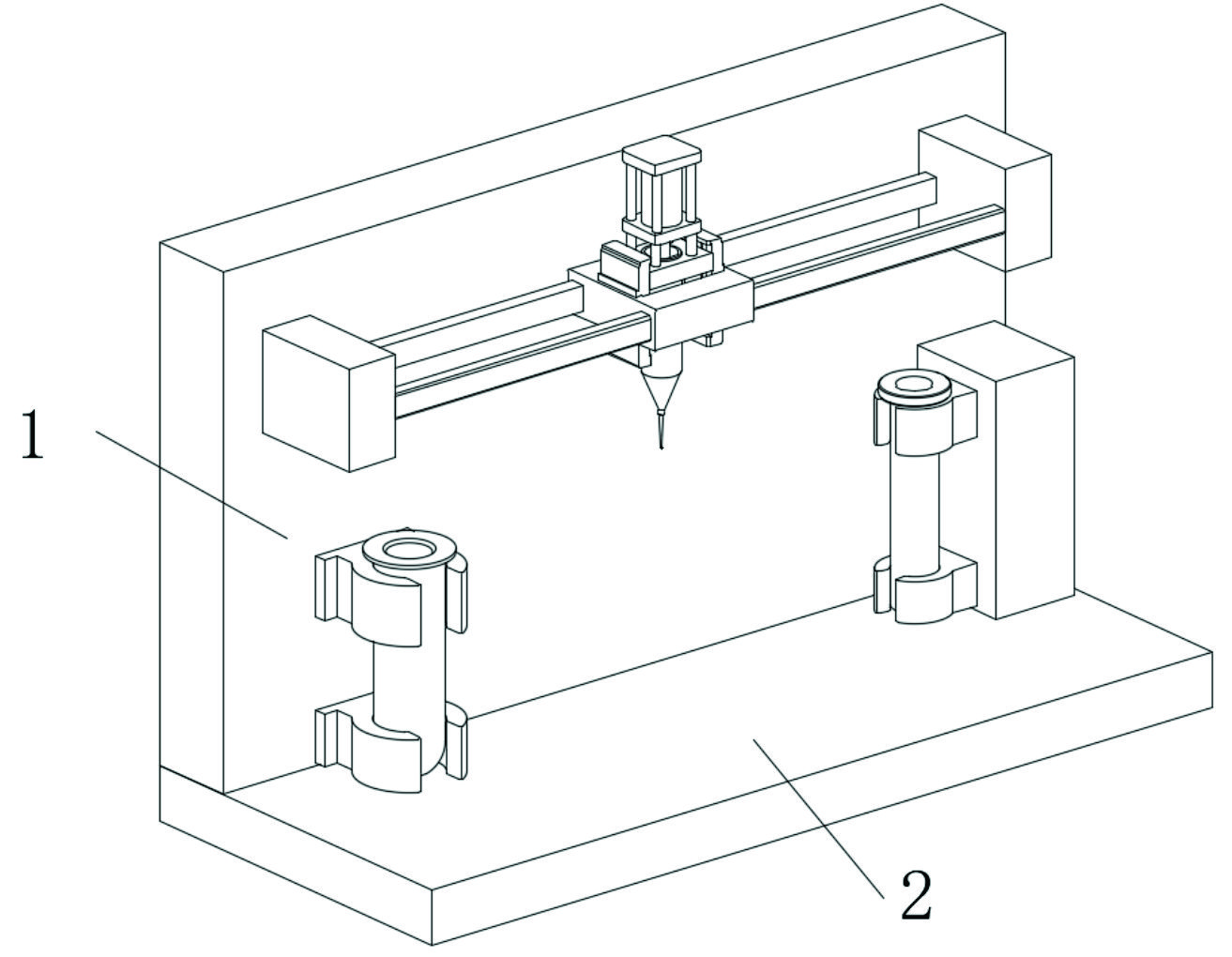
本实用新型公开了一种火锅底料中辣椒素检测用高效液相色谱进样器,包括安装立板,所述安装立板的前侧面固定连接有一对导轨限位板,所述导轨限位板相对的侧面固定连接有一对直行导轨,所述直行导轨的侧面活动连接有水平移动机构,所述水平移动机构的上方延伸至下方固定连接有导向限位板。本实用新型,通过设置水平移动机构,可以带动取样器从取样点移动至样品定量注射点,通过设置升降机构,可以模拟人工操作注射针头的探入和脱离,通过设置注射管配合伸缩控制器,可以实现定量取样和注射,提高了检测工作的准备效率,通过设置机械夹持器,来转移色谱柱的位置,减少了人工操作,提高了检测效率。


