授权公布号:CN218650145U
一种榨菜去泥器
有效
申请
2022-12-09
申请公布
1970-01-01
授权
2023-03-21
预估到期
2032-12-09
| 申请号 | CN202223299826.1 |
| 申请日 | 2022-12-09 |
| 授权公布号 | CN218650145U |
| 授权公告日 | 2023-03-21 |
| 分类号 | A23N12/02 |
| 分类 | 其他类不包含的食品或食料;及其处理; |
| 申请人名称 | 重庆市涪陵区凤娃子食品有限公司 |
| 申请人地址 | 重庆市涪陵区南沱镇睦和村六组 |
专利法律状态
2023-03-21
授权
状态信息
授权
摘要
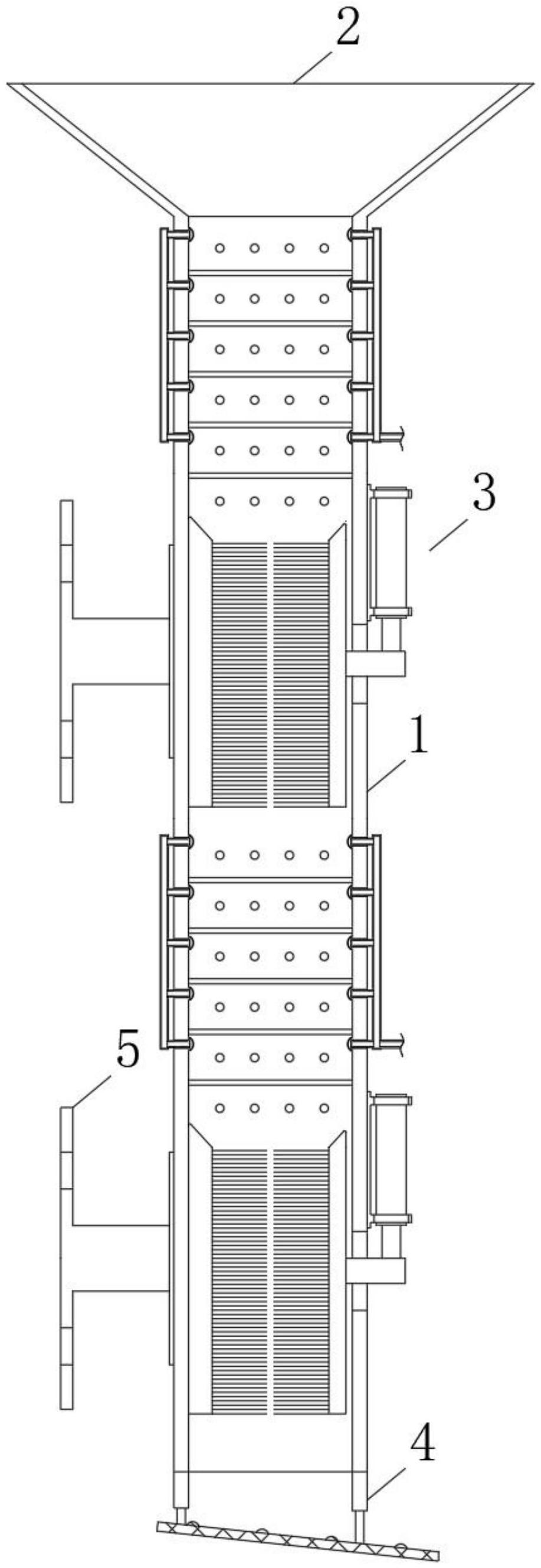
本实用新型公开了一种榨菜去泥器,包括固定座与清洗管,所述清洗管中部设有两组清洗机构,所述清洗管顶端固定连接有进料斗,所述清洗管底部固定连接有物料分离机构,所述物料分离机构包括与清洗管固定连接的支撑机构,所述支撑机构底部固定连接有滤网,所述滤网顶端固定连接有多个隔离条,所述支撑机构包括与清洗管固定连接的箱体,所述箱体内壁固定连接有弹簧,本实用新型中固定座的设置便于更好的对清洗管进行限位,便于更好的对该装置进行限位,物料分离机构的设置便于更好的对物料进行支撑,便于更好的对物料进行缓冲,避免物料直接冲击滤网,限位珠的设置便于更好的减少滑块与箱体的摩擦力。


