授权公布号:CN214710161U
一种用于榨菜加工设备的杀菌装置
有效
申请
2021-05-17
申请公布
1970-01-01
授权
2021-11-16
预估到期
2031-05-17
| 申请号 | CN202121040433.1 |
| 申请日 | 2021-05-17 |
| 授权公布号 | CN214710161U |
| 授权公告日 | 2021-11-16 |
| 分类号 | A23L5/20;A23L19/20 |
| 分类 | 其他类不包含的食品或食料;及其处理; |
| 申请人名称 | 重庆市涪陵区凤娃子食品有限公司 |
| 申请人地址 | 重庆市涪陵区南沱镇睦和村六组 |
专利法律状态
2021-11-16
授权
状态信息
授权
摘要
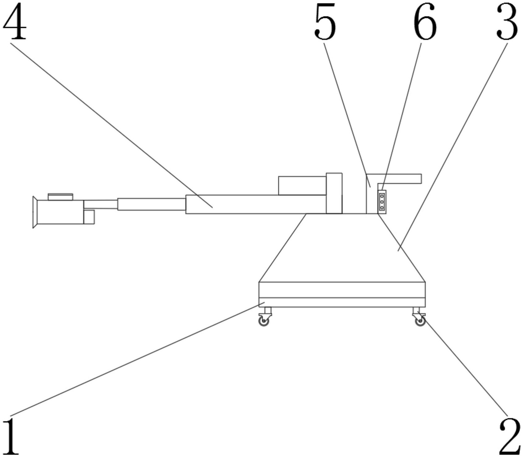
本实用新型公开了一种用于榨菜加工设备的杀菌装置,涉及榨菜生产领域,包括底板,所述底板的下端外表面设置有移动轮,所述底板的上端外表面设置有梯形箱,所述梯形箱的上端外表面设置有电动推杆与推把,所述电动推杆位于推把的一侧,所述推把的外壁设置有控制器,所述电动推杆的中部设置有伸缩杆。本实用新型所述的一种用于榨菜加工设备的杀菌装置,电动推杆在使用时可控制盐箱的距离,通过控制盐箱的距离来调整杀菌的距离,在使用时杀菌的距离更远,可使杀菌效果更加充分,盐箱在使用时主要用于杀菌工作,在使用时通过风机吹动进行杀菌,可使杀菌效率更快,使用的效果相对于传统方式更好。


