授权公布号:CN208649279U
一种米醋的澄清过滤设备
失效
申请
2018-06-28
申请公布
1970-01-01
授权
2019-03-26
预估到期
2028-06-28
| 申请号 | CN201821016056.6 |
| 申请日 | 2018-06-28 |
| 授权公布号 | CN208649279U |
| 授权公告日 | 2019-03-26 |
| 分类号 | C12J1/10 |
| 分类 | 生物化学;啤酒;烈性酒;果汁酒;醋;微生物学;酶学;突变或遗传工程; |
| 申请人名称 | 福建永春老醋醋业有限责任公司 |
| 申请人地址 | 福建省泉州市永春县环城路226号 |
专利法律状态
2023-07-07
专利权的终止
状态信息
未缴年费专利权终止;IPC(主分类):C12J1/10;申请日:20180628;授权公告日:20190326
2019-03-26
授权
状态信息
授权
摘要
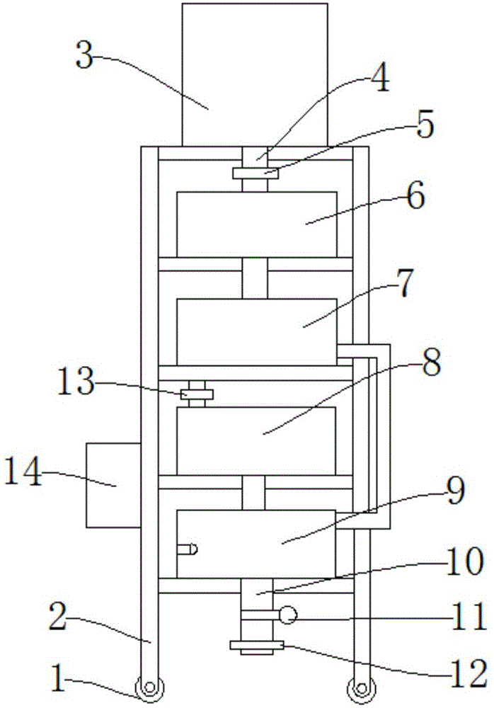
本实用新型公开了一种米醋的澄清过滤设备,包括底部移动滚轮、输液管、浓液回收罐和出液控制阀,所述底部移动滚轮上方设置有支撑架,所述支撑架顶部设置有原液罐,所述原液罐中间下方设置有所述输液管,所述输液管上设置有原液控制阀,所述原液罐下方设置有预处理箱,所述预处理箱下方设置有过滤循环箱,所述过滤循环箱下方设置有所述浓液回收罐。有益效果在于:1、利用米醋原液自重逐级进行过滤处理,节能高效,过滤效率更高;2、装置体积较小,成本低,适宜于小型加工作坊使用;3、装置结构简单,设计巧妙,维护和移动方便。


