授权公布号:CN213825281U
一种防止非使用者误操作的碎纸机
有效
申请
2020-11-23
申请公布
1970-01-01
授权
2021-07-30
预估到期
2030-11-23
| 申请号 | CN202022714128.8 |
| 申请日 | 2020-11-23 |
| 授权公布号 | CN213825281U |
| 授权公告日 | 2021-07-30 |
| 分类号 | B02C23/00;B02C23/04 |
| 分类 | 破碎、磨粉或粉碎;谷物碾磨的预处理; |
| 申请人名称 | 巨山智能化办公系统(上海)有限公司 |
| 申请人地址 | 上海市青浦区赵巷镇沪青平公路3797号2433室 |
专利法律状态
2021-07-30
授权
状态信息
授权
2020-11-23
公布
状态信息
公布
摘要
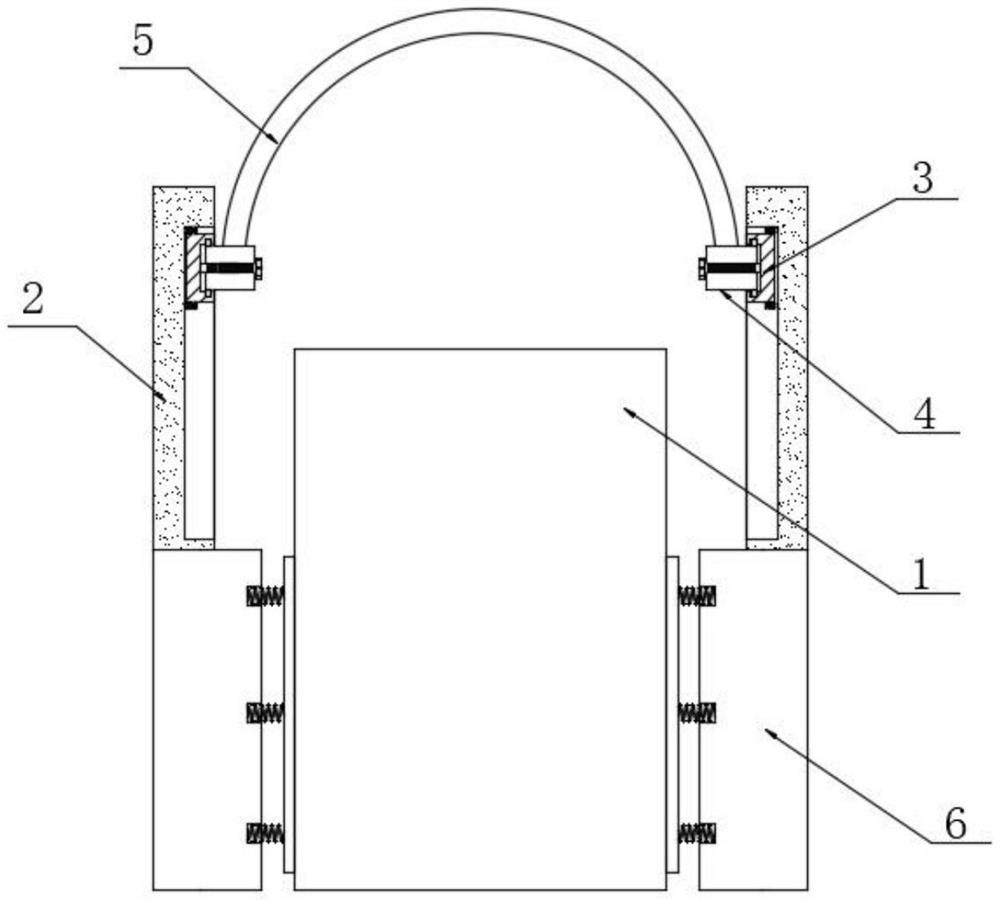
本实用新型公开了一种防止非使用者误操作的碎纸机,具体涉及碎纸机领域,包括碎纸机本体,所述碎纸机本体两侧顶部均设有支撑板,所述支撑板靠近碎纸机本体的一侧活动设有活动板,所述活动板靠近碎纸机本体的一侧活动设有连接板,所述连接板顶部固定设有防护板,且防护板呈拱形设置,所述碎纸机本体两侧底部均设有底板;所述支撑板靠近碎纸机本体的一侧开设有一号安装槽和一号滑槽,且一号滑槽位于一号安装槽中间一侧;所述活动板靠近碎纸机本体的一侧开设有二号安装槽和二号滑槽。本实用新型通过设置支撑板和防护板,可从两侧及顶部围挡碎纸机本体的控制面板,只有位于控制面板正面的人才能进行操作,有效的防止非使用者误操作。


