授权公布号:CN213972718U
一种碎纸机纸屑收集压缩结构
有效
申请
2020-11-24
申请公布
1970-01-01
授权
2021-08-17
预估到期
2030-11-24
| 申请号 | CN202022735734.8 |
| 申请日 | 2020-11-24 |
| 授权公布号 | CN213972718U |
| 授权公告日 | 2021-08-17 |
| 分类号 | B30B9/00;B02C18/16 |
| 分类 | 压力机; |
| 申请人名称 | 巨山智能化办公系统(上海)有限公司 |
| 申请人地址 | 上海市青浦区赵巷镇沪青平公路3797号2433室 |
专利法律状态
2021-08-17
授权
状态信息
授权
摘要
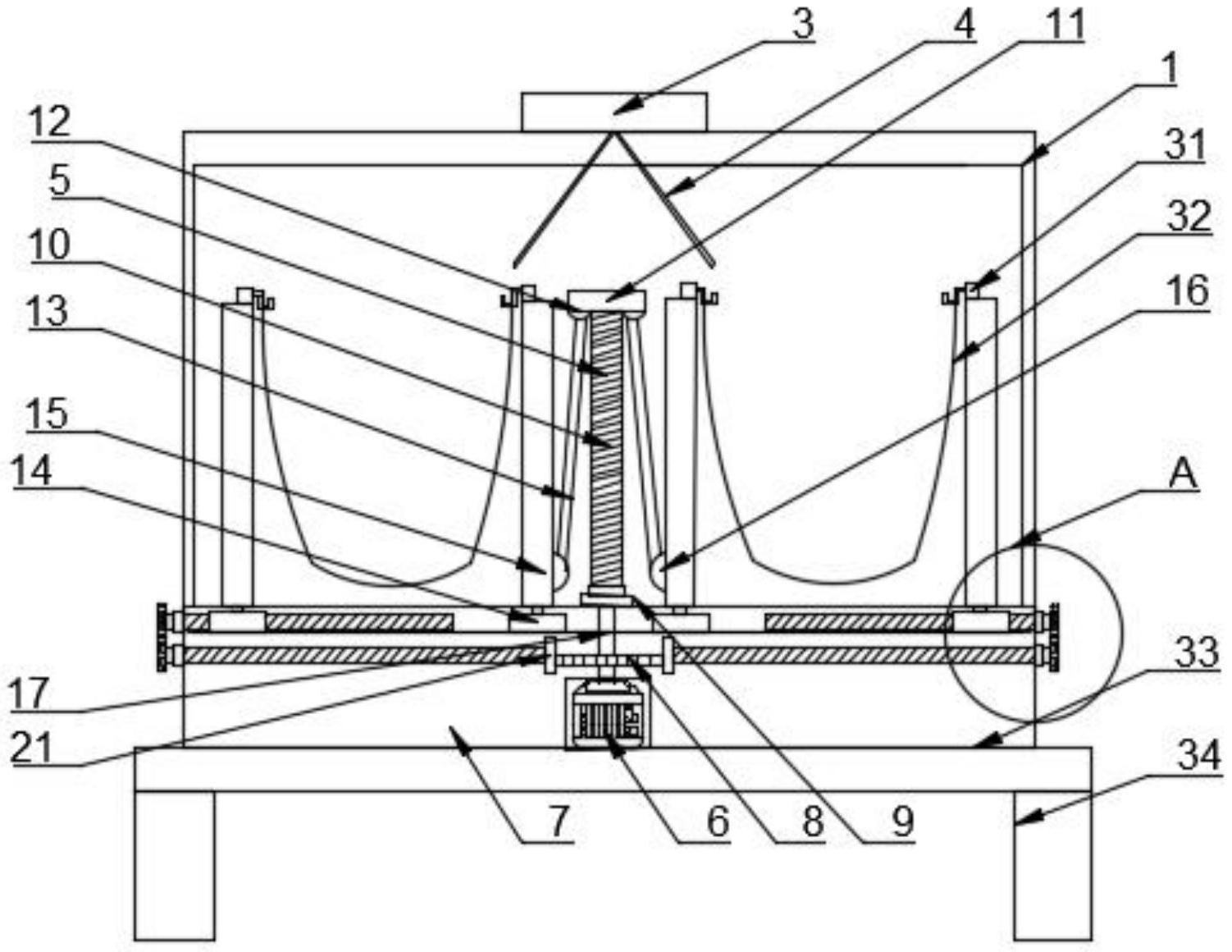
本实用新型公开了一种碎纸机纸屑收集压缩结构,涉及到办公领域,包括外框架,所述外框架内壁底部开设有第一滑槽,所述旋转电机顶部固定连接有第一齿轮,所述第一旋转轴顶部活动连接有第一螺纹杆,所述第二滑槽内活动连接有第二滑块,所述第二滑块顶部固定连接有第二压缩杆,所述第二滑块内开设有螺纹槽,所述螺纹槽内螺纹连接有第三螺纹杆。本实用新型通过设置压缩机构,打开旋转电机,第一齿轮与第三齿轮相啮合,第二齿轮和第四齿轮相啮合,第一螺纹杆、第二螺纹杆和第三螺纹杆在第一齿轮、第二齿轮、第三齿轮和第四齿轮的传动作用下,推动第一压缩杆和第二压缩杆相向移动,使得废纸得到充分的压缩,减少了垃圾箱内的空间占据。


