授权公布号:CN213825218U
一种办公用安全型碎纸机
有效
申请
2020-11-20
申请公布
1970-01-01
授权
2021-07-30
预估到期
2030-11-20
| 申请号 | CN202022704517.2 |
| 申请日 | 2020-11-20 |
| 授权公布号 | CN213825218U |
| 授权公告日 | 2021-07-30 |
| 分类号 | B02C18/16;B02C18/22;B02C21/02 |
| 分类 | 破碎、磨粉或粉碎;谷物碾磨的预处理; |
| 申请人名称 | 巨山智能化办公系统(上海)有限公司 |
| 申请人地址 | 上海市青浦区赵巷镇沪青平公路3797号2433室 |
专利法律状态
2021-07-30
授权
状态信息
授权
摘要
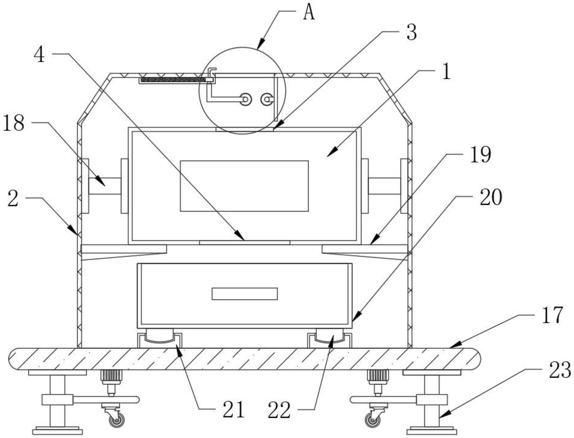
本实用新型公开了一种办公用安全型碎纸机,包括碎纸机本体以及设置在碎纸机本体外壁的保护壳,所述碎纸机本体顶部开设有进料口,所述碎纸机本体底部开设有出料口,所述保护壳顶部开设有投料口,所述投料口底部一侧设置有限位板,所述限位板一侧设置有第一限位轮,所述投料口底部另一侧设置有第二限位轮,所述第二限位轮一侧设置有连接件,所述连接件顶部设置有固定板,所述固定板内部设置有滑槽。本实用新型通过采用第一限位轮与第二限位轮对纸张进行限位固定在竖直方向,从而提高了装置使用的便捷性,进一步的通过打开气缸对滑轮高度进行控制方便了装置的移动,也保证了装置的支撑稳定性,进而保证了装置的使用效果。


