授权公布号:CN102540482B
一种双消光比的投影系统
有效
申请
2011-03-05
申请公布
2012-07-04
授权
1970-01-01
预估到期
2031-03-05
| 申请号 | CN201110059949.5 |
| 申请日 | 2011-03-05 |
| 申请公布号 | CN102540482A |
| 申请公布日 | 2012-07-04 |
| 授权公布号 | CN102540482B |
| 分类号 | G02B27/18;G02B27/28;G02B27/09;G02B27/30;G02B27/10 |
| 分类 | 光学; |
| 申请人名称 | 红蝶科技(深圳)有限公司 |
| 申请人地址 | 广东省深圳市坪山新区翠景路35号1号厂房6层东面 |
专利法律状态
2016-12-14
发明专利权授予
状态信息
授权
2015-12-09
文件的公告送达
状态信息
文件的公告送达;IPC(主分类):G02B 27/18;收件人:杨帆;文件名称:手续合格通知书
2013-11-13
实质审查的生效
状态信息
实质审查的生效;IPC(主分类):G02B 27/18;申请日:20110305
2013-07-17
著录事项变更
状态信息
著录事项变更;IPC(主分类):G02B 27/18;变更事项:申请人;变更前:红蝶科技(深圳)有限公司;变更后:红蝶科技(深圳)有限公司;变更事项:地址;变更前:518057 广东省深圳市南山区高新技术产业园北区新西路5号银河风云大厦3楼;变更后:518118 广东省深圳市坪山新区翠景路35号1号厂房6层东面
2012-07-04
发明专利申请公布
状态信息
公布
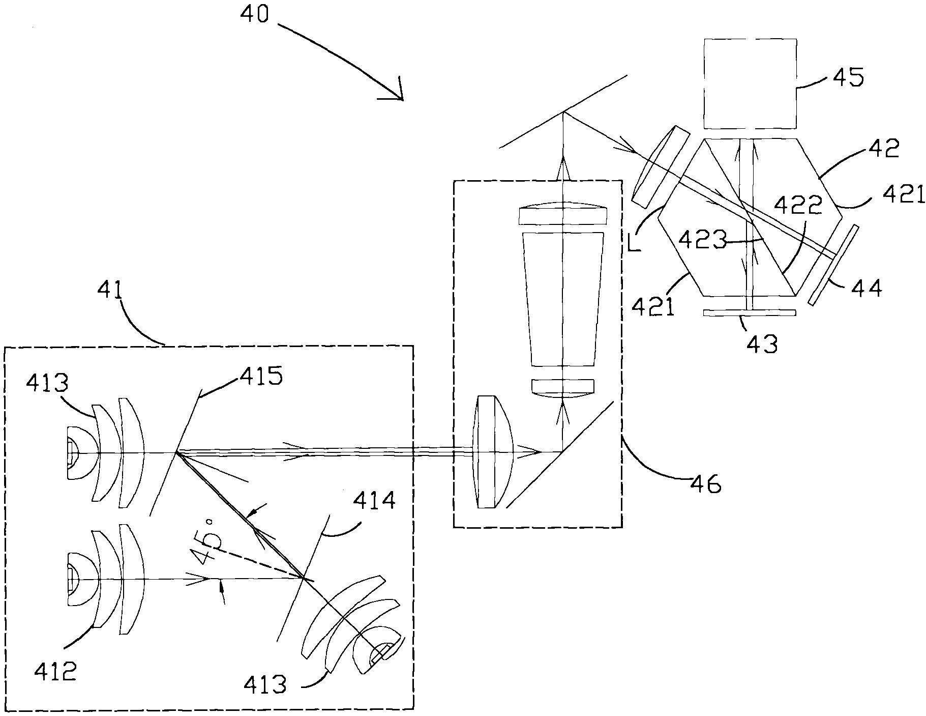
摘要
本发明提供一种双消光比的投影系统,包含三色合光装置、偏振分光器、两片反射式液晶面板和投影透镜,其特征在于:偏振分光器由两个相同等腰正梯形构成的正六面体组成,其中,梯形底面镀有偏振分光膜,三色合光装置整合的光束射入偏振分光器、借由偏振分光膜透射P偏振光;反射S偏振光,所述第一、二反射式液晶面板分别位于六面体偏振分光器的侧面,用于接收从偏振分光器出射的P偏振光、S偏振光并将其调制成S偏振信号光、P偏振信号光,所述投影透镜位于S偏振信号光和P偏振信号光的出射光路上。由于本发明偏振分光器用六面体结构,使入射光束与偏振分光器的偏振分光膜成60°,从而通过大致为60°镀膜设计达到双消光比的投影系统,而消除锥光束的去偏效应。


