授权公布号:CN210970337U
一种新型自动收集粉末的结构
有效
申请
2019-09-18
申请公布
1970-01-01
授权
2020-07-10
预估到期
2029-09-18
| 申请号 | CN201921551572.3 |
| 申请日 | 2019-09-18 |
| 授权公布号 | CN210970337U |
| 授权公告日 | 2020-07-10 |
| 分类号 | B41F23/00;B41F23/08 |
| 分类 | 印刷;排版机;打字机;模印机〔4〕; |
| 申请人名称 | 玉田县盛田印刷包装机械有限公司 |
| 申请人地址 | 河北省唐山市玉田县开发区昌盛大街 |
专利法律状态
2020-07-10
授权
状态信息
授权
摘要
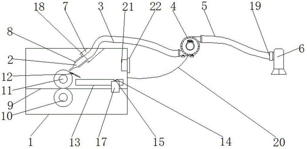
本实用新型公开了一种新型自动收集粉末的结构,包括去粉装置和回收盒,所述去粉装置内连接有吸嘴,所述吸嘴上连接有第一风筒,所述第一风筒的一端连接有抽风机,所述抽风机的一端连接有第二风筒,所述回收盒和抽风机之间通过第二风筒,所述去粉装置内开设有定位槽,所述定位槽的一端设置有定位筒,所述去粉装置内设置有平台,所述去粉装置内设置有除粉胶辊,所述去粉装置内设置有除粉钢辊,靠近除粉钢辊的所述去粉装置内设置有刮刀。其优点在于,更加方便的回收粉末,且通过抽风机抽取刮下的粉末,方便操作人员进行操作,并且能够提醒操作人员粉盒已满,及时处理。


