授权公布号:CN218939951U
一种电池模组
有效
申请
2022-12-01
申请公布
1970-01-01
授权
2023-04-28
预估到期
2032-12-01
| 申请号 | CN202223236577.1 |
| 申请日 | 2022-12-01 |
| 授权公布号 | CN218939951U |
| 授权公告日 | 2023-04-28 |
| 分类号 | H01M50/507;H01M50/531;H01M50/209;H01M50/249 |
| 分类 | 基本电气元件; |
| 申请人名称 | 威马汽车科技集团有限公司 |
| 申请人地址 | 上海市青浦区涞港路77号510-523室 |
专利法律状态
2023-09-05
专利权的保全及其解除
状态信息
专利权的保全;IPC(主分类):H01M 50/507;专利号:ZL2022232365771;申请日:20221201;授权公告日:20230428;登记生效日:20230815;解除日:
2023-04-28
授权
状态信息
授权
摘要
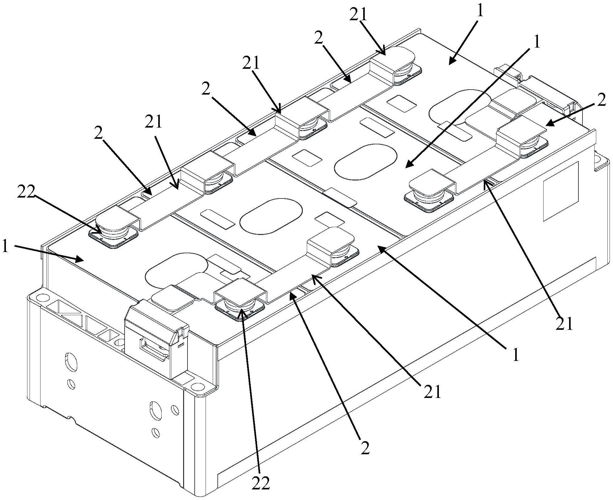
本实用新型公开了一种电池模组,包括至少两个电芯,每个所述电芯均包括有极柱;任意相邻的两个所述电芯的所述极柱之间通过连接组件连接;所述连接组件包括连接片和两个扣帽,两个所述扣帽连接在所述连接片的下方;所述扣帽与所述极柱可拆卸连接。本实用新型公开的电池模组,扣帽与连接片连接组成连接组件,在连接两个电芯时,将扣帽与电芯极柱可拆卸连接。在单个电芯出现失效时,可将扣帽从极柱上拆下,以单独更换失效的电芯,便于维修,并降低了维修成本。


