授权公布号:CN203974421U
一种越野车轮胎
有效
申请
2014-06-19
申请公布
1970-01-01
授权
2014-12-03
预估到期
2024-06-19
| 申请号 | CN201420337628.6 |
| 申请日 | 2014-06-19 |
| 授权公布号 | CN203974421U |
| 授权公告日 | 2014-12-03 |
| 分类号 | B60C11/03 |
| 分类 | 一般车辆; |
| 申请人名称 | 南港(张家港保税区)橡胶工业有限公司 |
| 申请人地址 | 江苏省苏州市张家港保税区内 |
专利法律状态
2014-12-03
授权
状态信息
授权
摘要
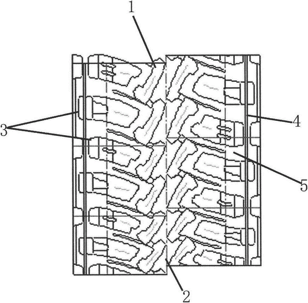
本实用新型涉及一种越野车轮胎,包括胎体,胎体的胎面上设有非对称花纹块,胎面上设有主沟和副沟,主沟为纵向沟,胎面着地部花纹块为链式花纹块,胎肩部设置有交错式花纹块,交错式花纹块延伸至胎边,副沟沟底设有阻音条。本实用新型具有在恶劣的路面上有很好的抓地力,行驶在恶劣的路面上能咬合并排除碎石、泥块,增加了使用者对轮胎的驾驭力,且降低了对环境的污染。


