授权公布号:CN217917823U
一种厢式车装饰外型材
有效
申请
2022-05-31
申请公布
1970-01-01
授权
2022-11-29
预估到期
2032-05-31
| 申请号 | CN202221338813.8 |
| 申请日 | 2022-05-31 |
| 授权公布号 | CN217917823U |
| 授权公告日 | 2022-11-29 |
| 分类号 | B60R13/04 |
| 分类 | 一般车辆; |
| 申请人名称 | 河南新飞专用汽车有限责任公司 |
| 申请人地址 | 河南省新乡市红旗区高新技术开发区新一街339号 |
专利法律状态
2022-11-29
授权
状态信息
授权
摘要
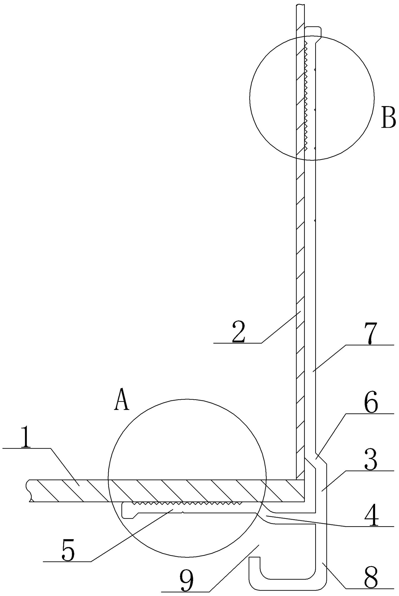
本实用新型涉及一种厢式车装饰外型材,包括设在厢式车的底板与侧板的连接处的L形基板,基板水平部分的尾端朝向远离侧板的一侧向上倾斜设有第一倾斜部、竖直部分的顶端朝向侧板向上倾斜设有第二倾斜部,第一倾斜部顶端设有横向连接部,第二倾斜部顶端设有竖向连接部,横向连接部顶面远离侧板的一端以及竖向连接部内侧面的顶端均呈锯齿形,横向连接部顶面与底板粘接、竖向连接部内侧面与侧板粘接,基板下方设有U形板,U形板远离横向连接部的一端与基板的竖直部分的底端固连、另一端与基板之间留有间隙而形成缺口。本实用新型能加强底板与侧板的连接并可有效布置线束,既能加强对线束的防护又不影响对线束的检修,更加实用。


