授权公布号:CN218335859U
一种能够调节角度的太阳能板安装装置
有效
申请
2022-08-29
申请公布
1970-01-01
授权
2023-01-17
预估到期
2032-08-29
| 申请号 | CN202222274574.0 |
| 申请日 | 2022-08-29 |
| 授权公布号 | CN218335859U |
| 授权公告日 | 2023-01-17 |
| 分类号 | H02S20/30;F24S30/425 |
| 分类 | 发电、变电或配电; |
| 申请人名称 | 河南新飞专用汽车有限责任公司 |
| 申请人地址 | 河南省新乡市红旗区高新技术开发区新一街339号 |
专利法律状态
2023-01-17
授权
状态信息
授权
摘要
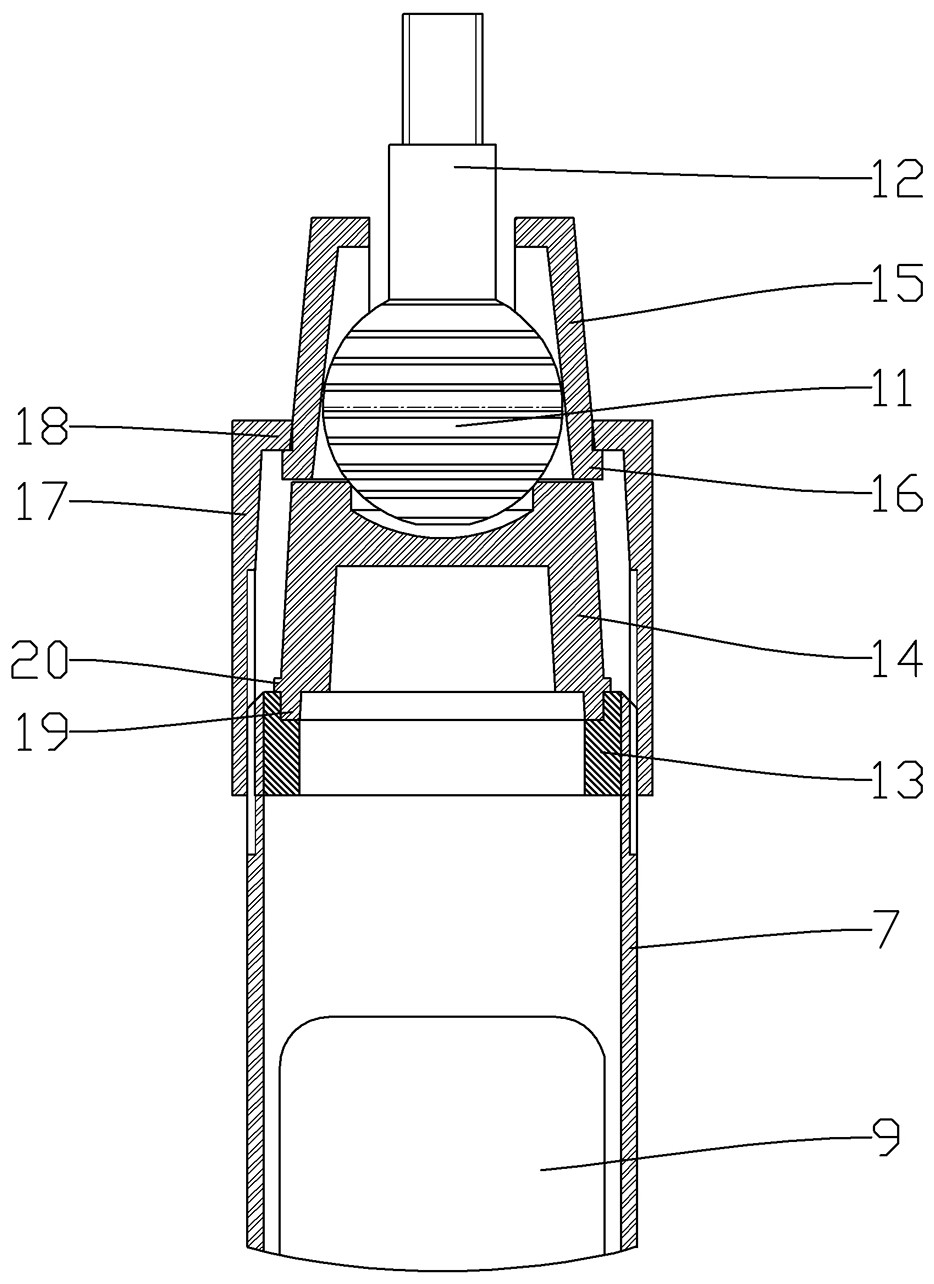
本实用新型涉及一种能够调节角度的太阳能板安装装置。该能够调节角度的太阳能板安装装置包括安装板、支撑杆以及角度调节组件;安装板的前侧面用于安装太阳能板的安装板,角度调节组件包括球头、球头座、球头卡座、压紧帽,球头上设有与安装板固定连接有连接杆,球头座卡在支撑杆上端,球头座上端具有与球头相匹配的弧面,球头卡座位于球头座上侧,球头卡座内具有容纳球头、将球头压在球头座上的锥面,压紧帽的下端螺纹连接在支撑杆上端,压紧帽的上端具有下行时推动球头卡座下行的下压结构。相比于现有技术,本实用新型的能够调节角度的太阳能板安装装置能够调节太阳能板高度和角度,使太阳能板能够朝向太阳布置,使太阳能板能够吸收更多太阳光。


