授权公布号:CN217935705U
一种方舱用可隐藏摄像头机构
有效
申请
2022-05-31
申请公布
1970-01-01
授权
2022-11-29
预估到期
2032-05-31
| 申请号 | CN202221336499.X |
| 申请日 | 2022-05-31 |
| 授权公布号 | CN217935705U |
| 授权公告日 | 2022-11-29 |
| 分类号 | H04N5/225;B60R11/04;G03B17/56 |
| 分类 | 电通信技术; |
| 申请人名称 | 河南新飞专用汽车有限责任公司 |
| 申请人地址 | 河南省新乡市红旗区高新技术开发区新一街339号 |
专利法律状态
2022-11-29
授权
状态信息
授权
摘要
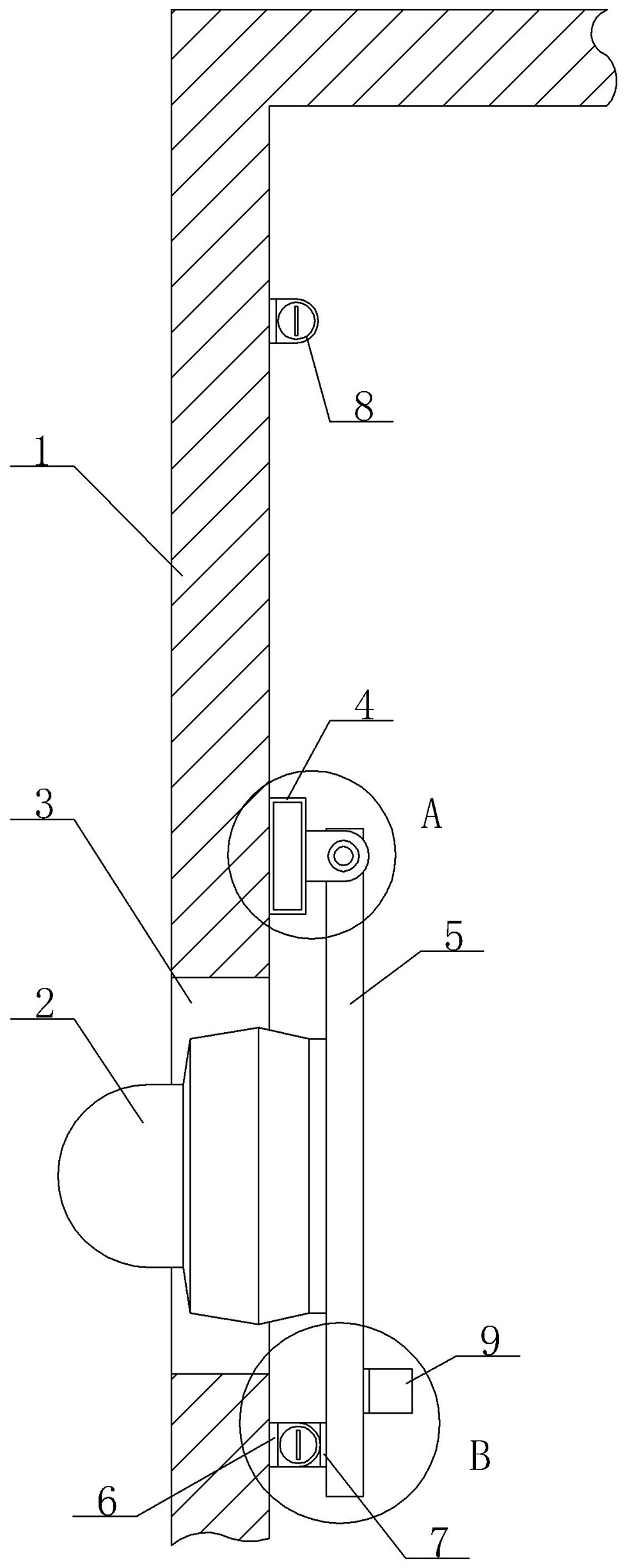
本实用新型涉及一种方舱用可隐藏摄像头机构,包括方舱和摄像头,方舱侧壁上开设有观察窗口,观察窗口上方的方舱内侧壁上设有固定架,固定架远离对应方舱侧壁的一侧上转动连接有安装板,安装板覆盖在观察窗口且其靠近观察窗口的一侧设有所述摄像头,观察窗口下方的方舱内侧壁上设有第一碰珠卡扣,第一碰珠卡扣对应的安装板上设有第一碰珠卡头,第一碰珠卡头与第一碰珠卡扣卡接,固定架上方的方舱内侧壁上设有第二碰珠卡扣,安装板远离观察窗口的一侧上设有第二碰珠卡头,安装板可朝上转动致使第二碰珠卡头与第二碰珠卡扣卡接。本实用新型可通过来回翻转在使用时将摄像头置于观察窗口中,不使用时将摄像头隐藏收纳在方舱内部,更加实用。


